Антенный объединитель/разделитель 1/2 SAR для разделения/суммирования сигнала DVBT
Код: 18039064645
741 грн
Цена указана с доставкой в Украину
Товар есть в наличии
КАК ЭКОНОМИТЬ НА ДОСТАВКЕ?
Заказывайте большое количество товаров у этого продавца
Информация
- Время доставки: 7-10 дней
- Состояние товара: новый
- Доступное количество: 2
Приобретая «Антенный объединитель/разделитель 1/2 SAR для разделения/суммирования сигнала DVBT» данный товар из каталога «Части и компоненты» вы можете быть уверены, что после оформления заказа, доставки в Украину, вы получите именно то, что заказывали, в оговоренные сроки и европейского качества.
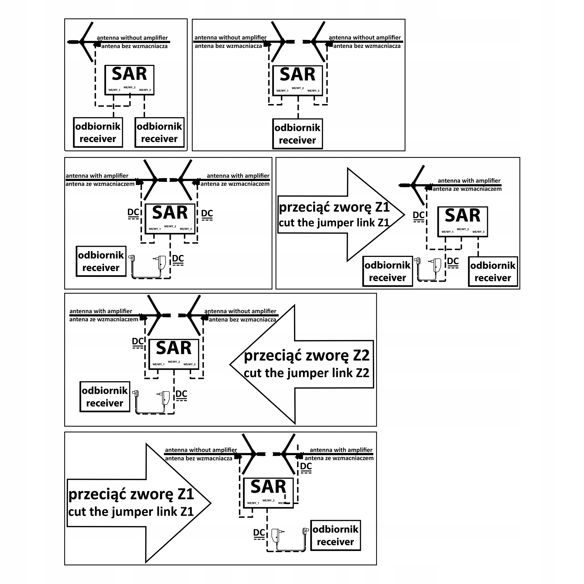
САР — антенный сумматор или разветвитель, построенный на развязывающем трансформаторе.
Между клеммами (IN/OUT_1/2/3) имеется переход постоянного тока, что позволяет запитывать антенные усилители по
коаксиальному кабелю.
Внимание! Если на усилитель питается только одна из антенн, разрежьте перемычку (Z1 или Z2) в цепи
антенны без усилителя.
Возможность работы в двух режимах:
<р>1. Комбайнер – суммирование сигнала с двух антенн RTV на один приемник. <р>2. Сплиттер – разделение сигнала с одной антенны на два приемника RTV.Технические данные:
<ул>