Дифузори тиску VT101 для вікон і вікон
- Время доставки: 7-10 дней
- Состояние товара: новый
- Доступное количество: 9740
Покупая «Дифузори тиску VT101 для вікон і вікон» данный товар из каталога «Диффузоры» вы можете быть уверены, что после оформления заказа, доставки в Украину, вы получите именно то, что заказывали, в оговоренные сроки и европейского качества.
Предмет аукциона:
Автоматический воздухоотводчик давления
Модель: Ventec VT 101
Цвет: Белый
Ventec VT 101 включает в себя:
- приточник с регулятором расхода (внутренняя часть)
- воздухозаборник (внешняя часть)
- li>
- 4 крепежных винта и 4 колпачка
.
Цена 42,99 злотых за 1 шт. (комплект)
<р>. .Предназначен для окон: ПВХ, ДЕРЕВЯННЫЙ, АЛЮМИНИЙ
Материал входного отверстия: АБС-пластик
Поставляемый воздухоотводчик комплектен и готов к установке.
.
+ ВИДЕО «Установка воздухоотводчика в окно ПВХ»
- БЕСПЛАТНОпри каждой покупке диффузора (обучающее видео в электронном виде)
Автоматические воздухоотводчики – саморегулирующиеся. Количество подаваемого воздуха зависит от разницы давления снаружи и внутри помещения. Это происходит до уровня перепада давления, при котором эффективность диффузора достигает максимального значения. Продолжая подниматься, крылья отклоняются, ограничивая количество подаваемого воздуха. Такая ситуация может быть вызвана, например, порывом ветра. Пользователь может закрыть створку, ограничив поток воздуха до минимума.
.
Преимущества воздухоотводчика Ventec VT 101:
- Чистый и свежий воздух
- Автоматический воздухообмен в зависимости от разницы давления
- 3 напорных аппарата
- Плавное регулирование открытия и закрытия вентиляционное отверстие.
- Возможность установить отверстия в 18 различных положениях.
- Возможность полностью закрыть или открыть вентиляционное отверстие.
- Устраняет влагу из помещения. >
- Идеально белый материал.
- Современный и элегантный вид.
На воздухозаборник имеются следующие документы:
- ITB – Национальная техническая оценка KOT
- KDWU – Национальная декларация эффективности
- Гигиенический сертификат
.
Применение Ventec Vt 101
Автоматический воздухоотводчик давления VT 101 — это устройство, обеспечивающее надлежащую и контролируемую подачу воздуха в помещения. Воздухозаборник VT 101 применяется в механической, самотечной и гибридной вентиляции как элемент оконной системы вентиляции. Диффузор работает автоматически и не требует электропитания.
.
На фото ниже диффузор VT 101 виден изнутри (сзади). Стрелками показаны 3 независимых регулятора давления.
Принцип работы воздухоотводчика VT 101
Регулятор воздухоотводчика VT 101 оснащен 3 независимыми регуляторами давления, которые зависят от разницы давлений между помещениями. и его окружение автоматически стабилизируют количество подаваемого воздуха, предотвращая тем самым чрезмерный воздухообмен. Кроме того, регулятор имеет три независимых ручных заслонки, позволяющих дополнительно регулировать поток воздуха вручную. Дополнительным элементом воздухозаборника VT 101 является воздухозаборник, защищающий от дождевой воды и насекомых.
Технические параметры:
Размеры:
- 399х26х30 мм (длина х высота х ширина) вентиляционное отверстие
- 399x20x26 мм (длина х высота х ширина), воздухозаборник
.
Поток воздуха:
- 27,0 м3/ч при 10 Па
- 33,0 м3/ч при 20 Па
.
Звукоизоляция:
- 32 дБ открытое вентиляционное отверстие
- 34 дБ закрытое вентиляционное отверстие
Доступные стандартные цвета:
- Белый.
- Светло-коричневый.
- Темно-коричневый.
- Антрацит
- Светло-коричневый/Белый
- Темно-коричневый/Белый
- Антрацит/Белый
Доступно на нашем сайте другие аукционы Аллегро.
+ ВИДЕО «Монтаж форточки в окне ПВХ»
- БЕСПЛАТНО при каждой покупке форточки (обучающее видео в электронном виде). Фильм высылается по электронной почте сразу после покупки.
На рисунке ниже показан кадр из демонстрационного фильма.
.
Демонстрационный фильм – инструкция по установке как установить форточку в окнах ПВХ. Видео представляет собой пошаговую инструкцию, в которой показан каждый этап установки воздухоотводчика. На видео показано, какие именно действия следует предпринять, чтобы правильно установить приточный и воздухозаборник и не повредить окно. Материал можно разделить на две части. В каждой из двух частей видео показано, как легко определить место установки диффузора и наружного воздухозаборника, как просверлить сквозные отверстия и фрезеровать их, как закрепить диффузор с помощью защелок или крепежных винтов. В первой части показано, как установить воздухозаборник в оконную створку, а во второй — как установить наружный воздухозаборник на оконную раму. Весь фильм длится примерно 13 минут.
Монтаж воздухоотводчика VT 101.
.
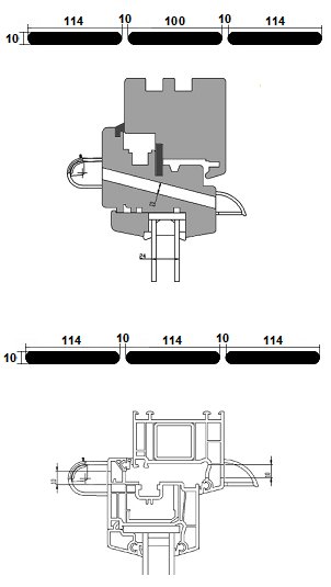
На первом чертеже показан монтаж форточки в деревянном окне. Также показано поперечное сечение сквозных отверстий, а также его диаметр, длина и расстояние между отверстиями.
На втором чертеже показан монтаж воздухоотводчика в окне ПВХ. Также показано поперечное сечение сквозных отверстий, а также его диаметр, длина и расстояние между отверстиями.
.
К каждому заказу диффузора мы прилагаем полные инструкции по установке в бумажном виде.
Оконные форточки – что стоит знать?
.
Что такое оконные форточки?
Оконные форточки — это устройства, которые устанавливаются для обеспечения надлежащей вентиляции воздуха в закрытых помещениях. Воздух внутри становится загрязненным и влажным из-за дыхания людей, приготовления пищи, купания, испарений пластика (ковров, шпона) и сгорания газа. Чрезмерная влажность в помещениях приводит к развитию различных грибков, представляющих опасность для здоровья. Благодаря использованию форточек в помещении поддерживается постоянный уровень влажности воздуха. Использование форточек позволяет избежать ненужного открытия окон, что, безусловно, важно, если в доме есть дети или животные.
.
Как обеспечить правильную вентиляцию в квартире?
Эффективная вентиляция – это организованный воздухообмен во всех помещениях. Поэтому каждое жилое или общественное здание должно просто «дышать». Здания без исправно работающей вентиляции подвержены чрезмерному росту влажности, а это всего в шаге от развития плесени и грибка. А они, в свою очередь, оказывают прямое влияние на разрушение строительных конструкций и являются причиной многих негативных последствий для нашего здоровья, таких как: аллергия, усталость, головные боли, респираторные заболевания.Эти проблемы можно устранить или предотвратить, установив вентиляционные отверстия.Принимая во внимание климатические условия в наших домах и В помещениях, которые мы используем, мы должны учитывать преимущества использования диффузоров.
.
Что такое вентиляционные отверстия?
Вентиляторы — это устройства, предназначенные для контролируемого притока свежего наружного воздуха. Их устанавливают в верхней кромке окна или внешней стене здания. По способу управления мы различаем следующие виды:
- под давлением, с ручным управлением - оснащен диафрагмой, с помощью которой можно вручную изменять эффективность подачи воздуха.
-напорный, автоматический - оснащен автоматической заслонкой, которая автоматически регулирует количество подаваемого воздуха, при этом пользователь может вручную закрыть проем.
-гигроуправляемые – закрываются и открываются автоматически в зависимости от изменения относительной влажности воздуха внутри помещения.
.
Почему мы используем вентиляционные отверстия?
Все чаще наши дома и квартиры проектируются так, чтобы как изоляция здания, так и окна, установленные в стенах, имели наилучшую теплоизоляцию. При строительстве домов и квартир мы заботимся о максимально возможной температуре внутри, часто игнорируя вопрос правильной вентиляции в здании. Отсутствие притока воздуха не только приводит к сырости стен и появлению плесени, но и серьезно угрожает нашему здоровью. Все чаще возникающие болезни, связанные с образом жизни, такие как аллергия или астма, могут быть вызваны микроорганизмами, обнаруженными в окружающей среде – из-за нехватки свежего воздуха. Так как же решить проблему сырости и неподходящей температуры в квартире? Заботясь о вашем комфорте и здоровье, мы создали воздухоотводчики, которые, отвечая всем нормам безопасности, обеспечивают постоянный доступ свежего воздуха в квартиру без существенного снижения температуры в помещении.
.
Какие воздухоотводчики стоит выбрать?
Большой выбор различных типов воздухоотводчиков означает, что у покупателей часто возникают проблемы с окончательным выбором изделия. Учитывая такие критерии
