Metabo Electronics с BS 18 LT BL Switch
- Время доставки: 7-10 дней
- Состояние товара: Б/У
- Доступное количество: 3
Покупая «Metabo Electronics с BS 18 LT BL Switch» данный товар из каталога «Переключатели» вы можете быть уверены, что после оформления заказа, доставки в Украину, вы получите именно то, что заказывали, в оговоренные сроки и европейского качества.
/metabo elektabo с переключателем для бурового ядра BS BS 18 Lt BL BL поврежден, сломан !!!!!
Примечание, часть сломана, повреждена
- Производитель: metabo
- Код производителя: 316065410
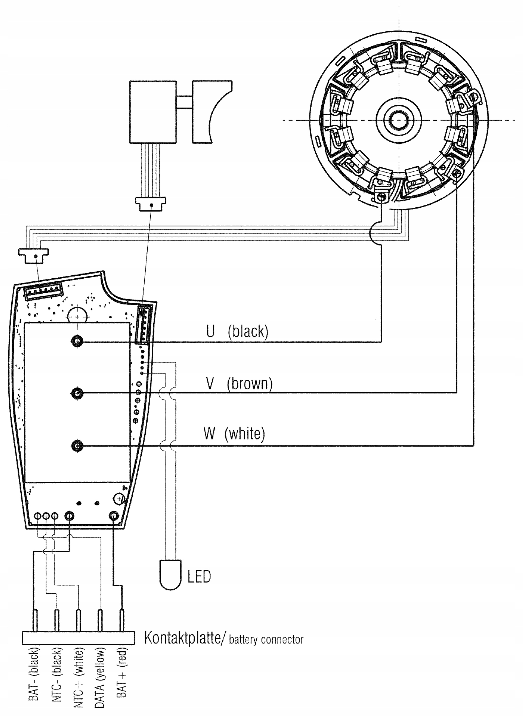
- Позиция на диаграмме: 3 - bs 18 lt bl (023555000) /bs> bs 18 lt bl (02355000) /bs> bs 18 lt bl (023255000) /b> bs 18 lt bl (0232550)
Применение:
Округа батареи -Кор -контроль
- bs 18 lt bl (02325000)
- bs 18 lt bl Q (02334000)
- (02334010)
- bs 18 lt bl se - (02367000)
Волшебник
- sb 18 lt bl bl se - удары Impact (02368000)
lt bl se - удары (02368000) .
Список частей для BS 18 LT BL (02325000)
Положение на диаграмме, количество, номер каталога, описание
1 3 14112222220 Винт2 1 343411320
1 31660641011111110111. 4 1 343437920 Корпус с крышкой5 8 141113180 Линза Листового металла 343438580 Блокировка
9 1 343430520 Блокирующий элемент
10 1 342004070 Spring
11 116062210 Kpp. Информация
14 2 338127490 Вывеска, BS 18 lt bl
17 1 315202990 Воротник переводится
18 1 341701940 Винт
20 1 339137270 Haken
21 1 34346666666666666666666666666666666666666666666666666 Предупреждение
25 1 316063650 Двигатель от Zębniki
26 1 316066940 Komp.
95 1 343439680 Крышка 338506080 Диаграмма подключения
