ВІЗОК ВОРОТ З ПРОФ. Вагони 50х50х3 50
Код: 11169634181
1856 грн
Цена указана с доставкой в Украину
Товар есть в наличии
КАК ЭКОНОМИТЬ НА ДОСТАВКЕ?
Заказывайте большое количество товаров у этого продавца
Информация
- Время доставки: 7-10 дней
- Состояние товара: новый
- Доступное количество: 991
Оплачивая «ВІЗОК ВОРОТ З ПРОФ. Вагони 50х50х3 50», вы можете быть уверены, что данное изделие из каталога «Тележки и ролики» будет доставлено из Польши и проверено на целостность. В цене товара, указанной на сайте, учтена доставка из Польши. Внимание!!! Товары для Евросоюза, согласно законодательству стран Евросоюза, могут отличаться упаковкой или наполнением.
ТЕЛЕЖКА ДЛЯ СТРОИТЕЛЬСТВА
ВОРОТА, РАЗДВИЖНЫЕ ДВЕРИ
для профиля ворот 50х50х3
( 5М-50)
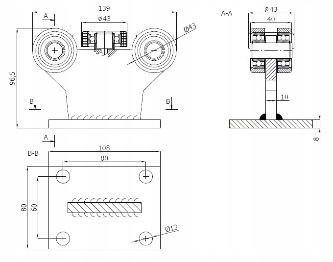
- - ИСПОЛЬЗУЕМЫЕ РОЛИКЫ 5 шт. - fi 43 мм
- - ОБЩАЯ ВЫСОТА - 95 мм
- - ОСНОВАНИЕ - 80 мм x 108 мм
- - ПРОСТРАНСТВО ОТВЕРСТИЙ - 60 мм x 80 мм
- - ДИАМЕТР ОТВЕРСТИЙ - 13 мм
- - МЕТАЛЛИЧЕСКИЕ РОЛИКИ - НАПРАВЛЯЮЩИЕ ПОЛИАМИДА
- - КОНСТРУКЦИЯ ГОРЯЧОЦИНКОВАННОЙ
- - ГРУЗОПОДЪЕМНОСТЬ НЕСУЩЕЙ - 320 кг
- - СМЕННЫЕ РОЛИКИ.
ПОЛЬСКИЙ ТОВАР – ВЫСОКОЕ КАЧЕСТВО!
