ЗАКЛЕПКИ РОЗСУВНІ ALU / STEEL ПЛОСКА ГОЛОВКА 4.8x14 1кг
- Время доставки: 7-10 дней
- Состояние товара: новый
- Доступное количество: 8
Заказывая «ЗАКЛЕПКИ РОЗСУВНІ ALU / STEEL ПЛОСКА ГОЛОВКА 4.8x14 1кг» данное изделие из «Заклепки» вы можете быть уверены, что после оформления заказа, доставки в Украину, вы получите именно то, что заказывали, в оговоренные сроки и европейского качества.
ГЛУХИЕ ЗАКЛЕПКИ АЛЮМИНИЕВЫЕ/СТАЛЬНЫЕ С ПЛОСКОЙ ГОЛОВКОЙ 4,8x14 1 кг
1 килограмм содержит около 345 штук заклепок
Потайные заклепки очень хорошо работают при соединении двух и более элементов. Заклепки легко соединят поверхности, изготовленные из того же материала, что и заклепки, или из совершенно разных материалов. Большим преимуществом вытяжных заклепок является то, что их можно легко использовать в ситуациях, когда доступ к соединяемым элементам затруднен.
Алюмо-стальные заклепки составляют группу наиболее универсально используемых. изделия в семействе заклепок.
ТЕХНИЧЕСКИЕ ПАРАМЕТРЫ
- материал головки - алюминий
- материал штока - оцинкованная сталь
- диаметр dk — 4,8 мм
- длина L — 14 мм
- диаметр головки D — 10,1 мм b>
- диапазон зажима s - 7,5-9,5 мм
- k- 2 мм
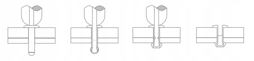
СБОРКА
ПРИНЦИПЫ УСТАНОВКИ ГЛУХИХ ЗАКЛЕПОК
- Диаметр заклепки – должен быть как минимум равен толщине соединяемых элементов, но не более чем в три раза превышать толщину этих элементов.
- Расстояние отверстия от края - отверстия следует сверлить на расстоянии не менее двух диаметров от края элемента.
- Подбор материалов соединяемых элементов - предполагается, что материал с лучшими параметрами (толщиной, прочностью) должен располагаться с обсадной стороны головки заклепки
