Дегідратор стиснений повітряний фільтр 3/4 '' RQS
- Час доставки: 7-10 днів
- Стан товару: новий
- Доступна кількість: 11
Оплачивая «Дегидратор сжатый воздушный фильтр 3/4 '' rqs» данный товар из каталога «Фильтроредукторы», вы можете получить дополнительную скидку 4%, если произведете 100% предоплату. Размер скидки вы можете увидеть сразу при оформлении заказа на сайте. Внимание!!! Скидка распространяется только при заказе через сайт.
Передача, повітряний осушувач RQS 3/4 " - Фільтр 40 UM
- Вихідний тиск: 0-16 бар
- Об'єм потоку: 3000 л/хв
- Робоча температура: 0 ° C до +60 ° C
- Матеріал Кінець: 3/4 "
- Індекс каталогу: 05-01-26
Багато програм
Всередині пристрою є і фільтр, і дренаж. Завдяки цьому продукт буде працювати з численними програмами в семінарах чи промислових програмах.
Ви будете корисні для такого дренажу?
Ви думаєте про придбання зниження тиску? Дізнайтеся, як цей продукт може працювати у вашій майстерні як частину пневматичної установки!
Функції редуктора
- Захист інструментів від вологи
- Підповідання елементів
- Визначеність неприємностей -безперервної роботи
Високоякісна майстерність
Продукт забезпечує чудову міцність у будь -який час - як організм, так і контейнер для осушувача виготовлялися з постійного полікарбонату.
Ідеальна міцність пристроїв
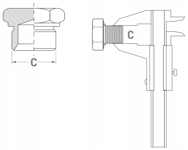
4 Таким продуктом є осушувач, який висихає і очищає повітря, залишаючи компресор забруднення та залишки вживаної нафти.Вимірювання діаметра та типів потоків:
Кал Трубчаста нитка: Зовнішній діаметр C (мм)
1/8 ": 9.3 - 9.7
1/4 ": 12.9 - 13.1
3/8 ": 16.3 - 16.6
1/2 ": 20.5 - 21
3/4 ": 26.1 - 26.4
1 ": 33 - 33.2
2 ": 59.4 - 59.8
Трубчаста трубчаста нитка: внутрішній діаметр L (мм)
1/8 ": 8.5 - 8.9
1/4 ": 11.4 - 12
3/8 ": 14.9 - 15.5
1/2 ": 18.6 - 19.1
3/4 ": 24.1 - 24.5
1 ": 30.3 - 30.8
2 ": 56,5 - 56,8
