ІНСТРУМЕНТ ГРМ ДВИГУНА OPEL 2.0 CDTI B20DTH ECOFLEX
- Час доставки: 7-10 днів
- Стан товару: новий
- Доступна кількість: 4
Оплачивая «ІНСТРУМЕНТ ГРМ ДВИГУНА OPEL 2.0 CDTI B20DTH ECOFLEX», вы можете быть уверены, что данное изделие из каталога «Сроки блокировки» будет доставлено из Польши и проверено на целостность. В цене товара, указанной на сайте, учтена доставка из Польши. Внимание!!! Товары для Евросоюза, согласно законодательству стран Евросоюза, могут отличаться упаковкой или наполнением.
ST07055
Замок ГРМ Opel 2.0 CDTI, EcoFLEX.
Підходить для двигунів Opel CD / Vauxhall 2.0 CDTi та 2.0 CDTi EcoFLEX з 2014 року.
Застосування:
Opel / Vauxhall: Cascada, Insignia, Insignia Country Tourer, Zafira-C Tourer.
Набір замків для заміни ременя приводу распредвала на 2.0 CDTI Opel/Vauxhall. У набір також входить інструмент для блокування маховика в автомобілях з АКПП.
Застосування: Opel 2.0 CDTI - LFS/B20DTH (2.0 CDTi з 2014)
Застосування: Cascada 2015- 2017, Insignia 2014-2017, Insignia Country Tourer 2014-2017 і Zafira-C Tourer, CDTi EcoFLEX
Еквівалент OEM EN 51413, EN 955-2, EN 51412, EN 51414, EN 51411
Набір необхідний при заміні ланцюга, що приводить в рух головний циліндр.
Коди двигунів: LFS / B20DTH.
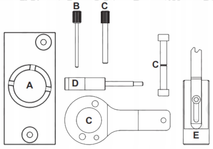
Номер OEM:
A - EN-51413-2 (Інструмент для фіксації зірочки паливного насоса високого тиску)
B - EN-955-2 (Ремінь аксесуарів із фіксатором натягувача)
C - EN-51412 (Інструмент синхронізації колінчастого вала)
D - EN-51414 (фіксатор колінчастого вала)
E - EN-51411 (інструмент для фіксації колінчастого вала)
Заміна : 904 015 70
