Nawiewnik do okna okien okienny VT 501 JASNY BRĄZ
- Час доставки: 7-10 днів
- Стан товару: новий
- Доступна кількість: 9869
Приобретая «Nawiewnik do okna okien okienny VT 501 JASNY BRĄZ» данный товар из каталога «Диффузоры» вы можете быть уверены, что после оформления заказа, доставки в Украину, вы получите именно то, что заказывали, в оговоренные сроки и европейского качества.
Предметом аукціону є:
Напірний вентиляційний клапан - ручний
Модель: Ventec VT 501
Колір: Світло-коричневий
h1>Ventec VT 501 включає:
- впускний патрубок з регулятором витрати (внутрішня частина)
- забірник повітря (зовнішня частина)
- 4 кріпильні гвинти та 4 ковпачки
.
Ціна 39,99 злотих за 1 шт. (набір)
. .
Призначено для вікон: ПВХ, ДЕРЕВО, АЛЮМІНІЙ
Матеріал входу: АБС-пластик
Повітровідвідник укомплектований і готовий до монтажу.
.
+ ВІДЕО "Встановлення вентиляційного отвору у вікно ПВХ"
- БЕЗКОШТОВНОпри кожній покупці дифузора (навчальне відео в електронному вигляді)
- БЕЗКОШТОВНОпри кожній покупці мін. 4 вентиляційні отвори (навчальне відео на CD)
Напірні повітроотводи (ручні) - саморегульовані. Кількість повітря, що подається, залежить від різниці тиску ззовні та всередині приміщення. Це відбувається до рівня різниці тисків, при якому ефективність дифузора досягає максимального значення. Повітровідвідник з ручним тиском можна закривати та закривати вручну.
Переваги вентиляційного отвору Ventec VT 501:
- Чисте та свіже повітря
- Автоматичний повітрообмін залежно від різниці тиску
- Плавне регулювання відкривання та закривання вентиляційного отвору
- Можливість налаштування діафрагми в 18 різних положеннях
- Можливість повністю закривати або відкривати вентиляційний отвір
- Усуває вологу з приміщення
- Ідеальний білий матеріал
- Сучасний і елегантний вигляд
Повітрозабірник має такі документи:
- ITB - KOT Національна технічна оцінка
- KDWU - Національна декларація ефективності
- Гігієнічний сертифікат
- li>
Технічні параметри:
Розміри:
- 399x26x30 мм (довжина х висота х ширина) вентиляційний отвір < /li>
- 399x20x26 мм (довжина x висота x ширина) повітрозабірник
.
Потік повітря:
- 30,0 м3/год при 10 Па
- 43,0 м3/год при 20 Па
.
Акустична ізоляція:
- відкритий вентиляційний отвір 32 дБ
- закритий вентиляційний отвір 34 дБ
Доступні стандартні кольори:
- білий
- світло-коричневий
- темно-коричневий
- Антрацит
- Світло-коричневий/Білий
- Темно-коричневий/Білий
- Антрацит/Білий
Доступний на нашому інші аукціони Allegro.
+ ВІДЕО "Монтаж форсунки у вікно ПВХ"
- БЕЗКОШТОВНО при кожній покупці форсунки (навчальне відео в електронному вигляді). Фільм надсилається електронною поштою відразу після покупки.
- БЕЗКОШТОВНО при кожній покупці мін. 4 вентиляційні отвори (навчальне відео на CD). У комплект поставки вентиляційних отворів входить компакт-диск.
Фільм можна переглянути на будь-якому комп’ютері у форматі CD-ROM.
Компакт-диск має номер ISBN 978-83-954947 -1-0
p>
.
На компакт-диску є демонстраційне відео про те, як встановити вентиляційний отвір у вікна ПВХ. Відео являє собою покрокову інструкцію, в якій показаний кожен етап монтажу воздухоотводчика. На відео показано, які саме дії потрібно зробити, щоб правильно встановити повітрозабірник і повітрозабірник і не пошкодити вікно. Матеріал можна розділити на дві частини. У кожній з двох частин відеоролику показано, як легко визначити місце встановлення дифузора та зовнішнього повітрозабірника, як просвердлити наскрізні отвори та відфрезерувати їх, як закріпити дифузор за допомогою засувок або кріпильних гвинтів. У першій частині показано, як встановити повітрозабірник у віконну стулку, а в другій – як встановити зовнішній повітрозабірник на віконну раму. Весь фільм триває близько 13 хвилин. Диск записаний у форматі CD-ROM і доступний для перегляду на будь-якому комп'ютері.
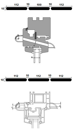
Встановлення вентиляційного отвору VT 501
.
На першому кресленні показана установка вентиляційного отвору в дерев'яному вікні. Також показано поперечний переріз наскрізних отворів разом із його діаметром, довжиною та відстанню між отворами.
Другий малюнок показує монтаж вентиляційного отвору у вікні ПВХ. Також показано поперечний переріз наскрізних отворів разом із його діаметром, довжиною та відстанню між отворами.
.
Ми додаємо повні інструкції з встановлення паперу до кожного замовлення дифузора.
Віконні вентиляційні отвори - що варто знати?
.
Що таке віконні отвори?
Віконні вентиляційні отвори – це пристрої, встановлені для забезпечення належної вентиляції повітря в закритих приміщеннях. Повітря всередині стає забрудненим і вологим через те, що люди дихають, готують, купаються, випаровують пластик (килими, шпон) і горять гази. Надмірна вологість в приміщеннях призводить до розвитку різних грибків, які становлять небезпеку для здоров'я. Завдяки використанню вентиляційних отворів у приміщенні підтримується постійний рівень вологості повітря. Використання вентиляційних отворів дозволяє уникнути непотрібного відкривання вікон, що, безумовно, важливо, якщо в будинку є діти або тварини.
.
Як забезпечити належну вентиляцію в квартирі?
Ефективна вентиляція означає організований повітрообмін у всіх приміщеннях. Тому будь-яка житлова чи громадська будівля має просто «дихати». Будинки без нормально функціонуючої вентиляції схильні до надмірного зростання вологи, що лише за крок від розвитку цвілі та грибка руйнування будівельних конструкцій і є відповідальними за багато негативних наслідків для нашого здоров'я, таких як: алергія, втома, головні болі, респіраторні захворювання. Ці проблеми можна усунути або запобігти, встановивши вентиляційні отвори, беручи до уваги кліматичні умови в наших домівках. приміщеннях, які ми використовуємо, ми повинні враховувати переваги використання повітряних дифузорів.
.
Що таке вентиляційні отвори?
Вентиляційні отвори – це пристрої, призначені для контрольованого надходження свіжого зовнішнього повітря. Вони встановлюються у верхнього краю вікна або зовнішньої стіни будівлі. За способом контролю розрізняємо такі види:
- під тиском, з ручним керуванням - оснащений діафрагмою, за допомогою якої ми можемо вручну змінювати ефективність подачі повітря.
-напірний, автоматичний - оснащений автоматичною заслінкою, яка автоматично регулює кількість повітря, що подається, і при цьому користувач може вручну закрити отвір.
-гігрокеровані - закриваються і відкриваються автоматично в залежності від зміни відносної вологості повітря всередині приміщення.
.
Чому ми використовуємо вентиляційні отвори?
Дедалі частіше наші будинки та квартири сконструйовані таким чином, щоб як ізоляція будівлі, так і вікна, встановлені в стінах, мали найкращу теплоізоляцію. При будівництві будинків і квартир ми дбаємо про те, щоб забезпечити максимально можливу температуру всередині, часто не звертаючи уваги на питання належної вентиляції в будівлі. Відсутність повітряного потоку не тільки спричиняє вологість стін і появу цвілі, але й серйозно загрожує нашому здоров’ю. Хвороби способу життя, такі як алергія чи астма, які дедалі частіше виникають, можуть бути спричинені мікроорганізмами, які знаходяться в навколишньому середовищі - через брак свіжого повітря. Тож як боротися з проблемою вологи та невідповідної температури в квартирі? Дбаючи про ваш комфорт і здоров'я, ми створили вентиляційні отвори, які, відповідаючи всім стандартам безпеки, забезпечують постійний доступ свіжого повітря до квартири без істотного зниження температури в приміщенні.
.
Які вентиляційні отвори варто вибрати?
Широкий вибір різних типів вентиляційних отворів означає, що клієнти часто мають проблеми з остаточним вибором продукту. Враховуючи такі критерії
