Вентилятор осьового каналу 107 м3/год VKO1 100 Стандартний підшипник слізерину
- Час доставки: 7-10 днів
- Стан товару: новий
- Доступна кількість: 4
Заказывая «Вентилятор осевого канала 107m3/h вентиляционные вентиляционные вентиляционные отверстия VKO1 100 Стандартный сутлизеринский подшипник» данный товар из каталога «Вентиляторы», вы можете получить дополнительную скидку 4%, если произведете 100% предоплату. Размер скидки вы можете увидеть сразу при оформлении заказа на сайте. Внимание!!! Скидка распространяется только при заказе через сайт.
Axial channel fan
Vents VKO1 100 Standard h1>
Main features:
- diameter of the short bunch - 99 mm (to the channel 100 mm )
- m3/h
- Energy -saving engine - 14 W
- low noise levels - 36 dB (a)/3m
- reputable manufacturer - vents
- aerodynamic Propellers
- PVC housing - ABS impact resistant
- Included seal with в односторонній клейкій піні (губка)
Опис
Осьові вентилятори каналу серії vko1 використовуються у вентиляції та витяжних вентиляціях ванних кімнат, душових, кухні, кухні та громадських кімнат. Він призначений для використання в системах ПВХ -труб або еластичних кабелях при низьких або середніх швидкості потоку повітря на коротких відстанях та з низьким рівнем опору повітря.
Структура
Корпус вентилятора та ротор виготовлені з високоякісної пластику, стійкої до механічних пошкоджень. Спеціально розроблений дизайн ротора забезпечує високу продуктивність та тривалий термін вентилятора. Вентилятор також має високий ступінь захисту - IP X4.
Переваги двигуна
Вентиляторний двигун адаптований до безперервної роботи, не потребує технічного обслуговування та має захист від перегріву. Він також характеризується низьким споживанням енергії.
Регулювання швидкості
Продуктивність може здійснюватися плавно (регулятор тиристора), а також голеностоп (регулятор трансформатора). Вентилятори можуть бути підключені до кількох одиниць до одного контролера, за умови, що наявна потужність та робоча потужність не перевищують номінальні параметри регулятора. Регулятори обертання можна придбати на окремих аукціонах.
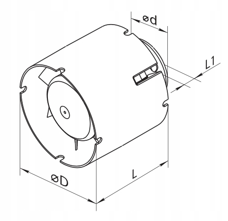
розміри [мм]
- ∅d - 99
- ∅d - 59
- l - 85
- l1 - 28
Технічні дані
- Максимальна продуктивність - 107 м3/год
- Зменшене споживання електроенергії - 14 Вт
- Напруга потужності - 230 В/50 Гц
- Споживання струму - 0,085 a
- Акустичний тиск - 3 6 db (a)/3m
- Максимальна робоча температура - 40 ° C
- живлення (тип роботи) - безперервне
- Ступінь захисту - ip -x4
- Вага - 0,41 кг
Електрична схема з'єднання
для підключення вентилятора потрібна двопровідна електрична установка , що працює від перемикача до вентилятора. 4
збірка
Можна встановити лише в горизонтальному положенні (вісь вентилятора повинна бути горизонтально) безпосередньо до жорсткого вентиляційного каналу ПВХ (білий канал - доступний на інших наших аукціонах) або до круглого гнучкого каналу. Білі круглі канали з ПВХ та гнучкі канали доступні на інших наших аукціонах.
Електричне з'єднання та встановлення повинні бути здійснені відповідно до інструкцій та електричної схеми, розташованої в DTR.
