АНКЕР ЗАБИВНИЙ 100х100 ДОВЖ 900мм ОЦИНКОВАНИЙ
- Время доставки: 7-10 дней
- Состояние товара: новый
- Доступное количество: 9999
Оплачивая «АНКЕР ЗАБИВНИЙ 100х100 ДОВЖ 900мм ОЦИНКОВАНИЙ», вы можете быть уверены, что данное изделие из каталога «Детали и фитинги» будет доставлено из Польши и проверено на целостность. В цене товара, указанной на сайте, учтена доставка из Польши. Внимание!!! Товары для Евросоюза, согласно законодательству стран Евросоюза, могут отличаться упаковкой или наполнением.
ВВОДНОЙ АНКЕР ДЛИНА 100x100 900 мм ОЦИНКОВАНИЕ
ОСНОВАНИЕ СТОЙКИ ДЛЯ ВБЕЗАНИЯ, ОЦИНКОВАННОЕ
С А Т О С О В А Н И Е
✅ Деревянные конструкции
- беседки
- перголы
- навесы
- заборы
✅Эффективно защищает деревянные элементы от влаги и атмосферных воздействий.
✅ Изготовлен из оцинкованной стали, гальванически устойчивой к коррозии.
S P E C Y F I C A C J A
ㅤ
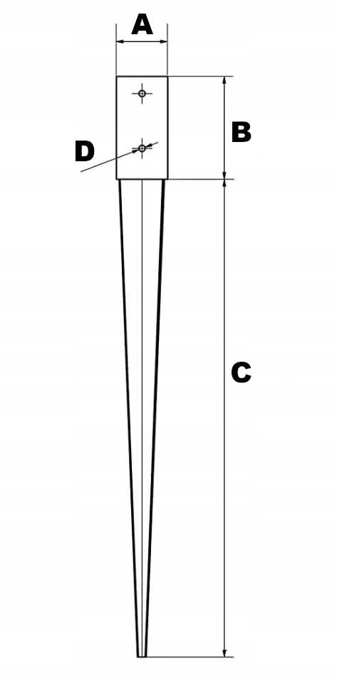
Размер A: 100 мм
Размер B: 150 мм
Размер C: 750 мм
Размер D: 11 мм
ㅤ
Толщина листа: 2 мм
Сталь оцинкованнаяоцинкованная (оцинкованная серебром)
М О Н Т А Ż
✅ Анкер крепится непосредственно в стойке
✅ Анкер следует устанавливать с использованием деревянной распорки, чтобы не повредить защитное покрытие анкера
✅ Балка крепится с помощью системных гвоздей или шурупов
Покупая в Sigmet, вам гарантируется оригинальность каждого товара.
ㅤ
После завершения транзакции мы приветствуем Вас в нашей семье Sigmet, о чем свидетельствует специальное подтверждение о присоединении (информационная карта), добавленное к Вашему заказу.
ㅤ
Это нельзя купить.
Это наш способ показать, насколько мы ценим каждого из наших клиентов.
