B16 1-13 мм патрон для ключів
- Время доставки: 7-10 дней
- Состояние товара: новый
- Доступное количество: 15
Заказывая «B16 1-13 мм патрон для ключів» данное изделие из «Держатели и приспособления для крепления» вы можете быть уверены, что после оформления заказа, доставки в Украину, вы получите именно то, что заказывали, в оговоренные сроки и европейского качества.
Патрон для шпоночной дрели B16 1–13 мм
Шпоночный патрон — это простое и надежное решение для фиксации сверл при любых видах работ.
Обеспечивает высокую силу зажима, надежно удерживая сверла во время обработки.
>Кулачки можно удобно затягивать и ослаблять с помощью гаечного ключа, что упрощает работу.
Прочные сверлильные патроны подходят для работы с вращением влево и вправо.
Крепление патрона на конус В16 (отверстие в рукоятке 16мм).
Кулачки открываются на диаметр 13мм. В комплект входит ключ для затягивания и ослабления кулачков.
Технические данные
- Диапазон навесных сверл 1мм - 13мм
- Конусное крепление B16 - отверстие 16 мм
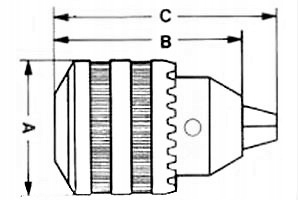
- Диаметр корпуса (A) 53 мм
- Длина ручки (B) 69 мм
- Длина с выдвинутыми губками (C) 87 мм
- Тип ручкиключ< /li>
В комплект входит:
- 1 патрон для сверла B16 1-13
- 1 ключ для патрона
- 1 коробка
