Reder Air Dehydrator 1/2 '' rqs + датчик
- Время доставки: 7-10 дней
- Состояние товара: новый
- Доступное количество: 13
Заказывая «Reder Air Dehydrator 1/2 '' rqs + датчик» данное изделие из «Фильтроредукторы» вы можете быть уверены, что после оформления заказа, доставки в Украину, вы получите именно то, что заказывали, в оговоренные сроки и европейского качества.
воздух дегидратор 1/2 "с RQS -манометом h1>
- Operating temperature: 0 ° C to +60 ° C
- Input pressure: 0-16 bar
- Flow size: 3000 l/min
- Material: housing - zinc casting filter container - polycarbonate metal cover of the container - alloy aluminum
- end: 1/2 "
- Scale of the pressure gauge: bar, MPA
- Фильтр в Стандарте: 40 микрон (возможность использовать 5 микрон на вашем собственном)
широкое приложение h2>
Это устройство, содержащее как фильтр, так и обезвоживание, будет работать для действительно многих мастерских или промышленных приложений.
Постоянное выполнение h2>
Продукт всегда обеспечивает отличную прочность - как корпус, так и контейнер осушителя были изготовлены из постоянного поликарбоната.
читаемость устройств h2>
Продукт оснащен высококачественным датчиком давления, что допускает максимально точные показания. Большой циферблат облегчает определение уровня давления тока.
Лучшая долговечность устройств h2>
Подержанное нефть, циркулирующее после пневматической установки, оказывает влияние на ее долговечность, поэтому стоит инвестировать в элемент, который позволит его быстро и эффективно удалять его. Таким продуктом является осушитель, который высыхает и очищает воздух, оставляя компрессор загрязнения и остатка подержанного масла.
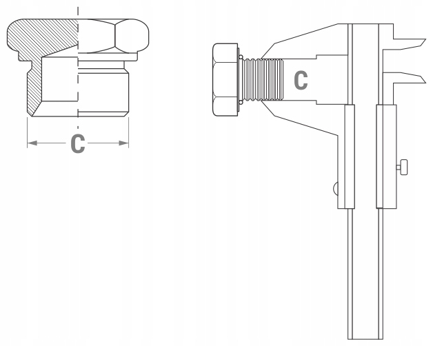
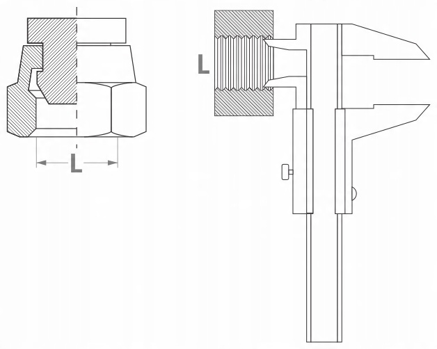
измерение диаметра и типов потоков: h2>
Трубчатая нить Cal: внешний диаметр C (мм) h2>
1/8 ": 9,3 - 9,7
1/4 ": 12,9 - 13,1
3/8 ": 16,3 - 16,6
1/2 ": 20,5 - 21
3/4 ": 26,1 - 26,4
1 ": 33 - 33,2
2 ": 59,4 - 59,8
трубчатая трубчатая трубчатая нить: внутренний диаметр L (мм) h2>
1/8 ": 8.5 - 8.9
1/4 ": 11,4 - 12
3/8 ": 14,9 - 15,5
1/2 ": 18,6 - 19,1
3/4 ": 24,1 - 24,5
1 ": 30,3 - 30,8
2 ": 56,5 - 56,8
