Пісуар Sanela SLP 17 з інфрачервоним автоматом
- Время доставки: 7-10 дней
- Состояние товара: новый
- Доступное количество: 79
Оплачивая «Пісуар Sanela SLP 17 з інфрачервоним автоматом» данный товар из каталога «Писсуары» вы можете быть уверены, что после оформления заказа, доставки в Украину, вы получите именно то, что заказывали, в оговоренные сроки и европейского качества.
Примечание:
- в связи с перебоями в поставках комплектующих просим заранее узнавать фактическую дату поставки.
- для данного писсуара необходимо приобрести необходимый блок питания на другом нашем аукционе.
Предмет продажи - керамический писсуар SLP 17 с бесконтактным смывным устройством производства компании чешской фирмы Sanela.
Автоматический смыв размещен в керамике писсуара и изготовлен из цельной латуни.
Смыв осуществляется после выхода из писсуара – на людей не реагирует проходя мимо.
Использование устройства обеспечивает абсолютную гигиену использования и обеспечивает высокую экономию воды.
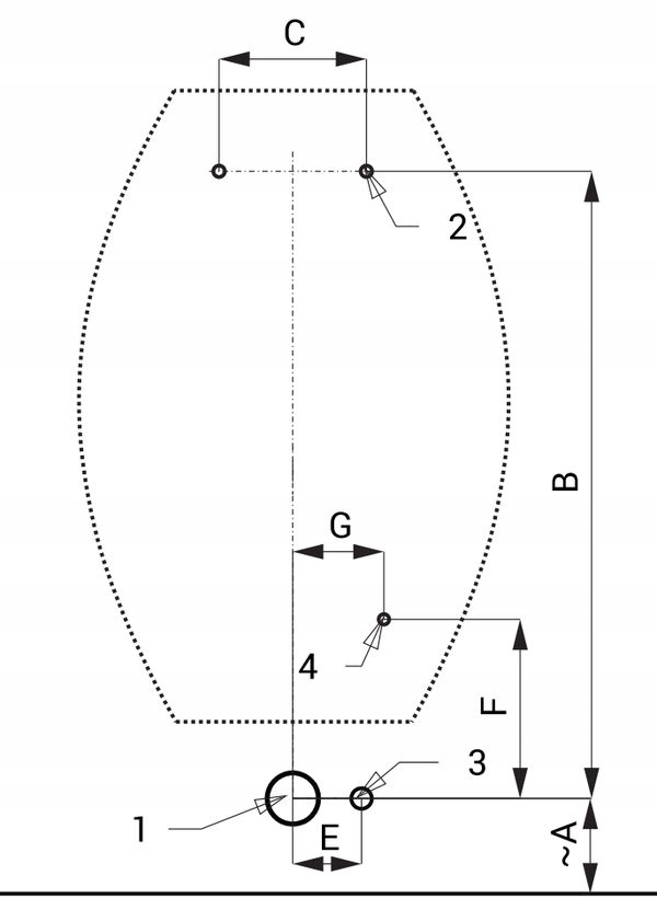
Схема:
1 — слив, диаметр 40 мм
2 — отверстия для крепления штифтов 10 мм
3 — вода вход 1/2" GW
4 - силовой кабель от блока питания 24В
Размеры:
А: 420 мм, Б : 638 мм, С: 150 мм, E: 70 мм, F: 180 мм, G: 90 мм
данные размеры действительны для установки переднего края писсуара на высоте 650 мм от пола
Комплект поставки:
Писсуар, кронштейны для крепления, автоматический промыватель, запорный клапан, комплект смывной арматуры.
Внимание – в комплект должна входить :
1 - сифон для умывальника - пластик или сталь по выбору
2 - блок питания
Блок питания следует устанавливать в местах, не подвергающихся воздействию затоплен водой и недоступен для пользователя.
p>
Мы являемся официальным представителем Saneli в Польше.
Наша компания работает с 1996 года, мы используем проверенные пневматические и электронные компоненты от известных производителей.
У нас есть полное гарантийное и послегарантийное обслуживание и состав запасных частей.
ВНИМАНИЕ
При получении проверьте состояние отправления в присутствии курьера. В случае механических повреждений необходимо составить акт, который является основанием для принятия рекламации.
