ШАБЛОН + VT 601 Вентилятор для окон Вентилятор для окон
- Время доставки: 7-10 дней
- Состояние товара: новый
- Доступное количество: 1
Оплачивая «ШАБЛОН + VT 601 Провітрювач для вікна вікон Провітрювачі для вікон» данное изделие из «Диффузоры» вы можете быть уверены, что после оформления заказа, доставки в Украину, вы получите именно то, что заказывали, в оговоренные сроки и европейского качества.
Монтажный комплект с диффузором*:
- Диффузор Ventec 601 Белый
Диффузор напорный - инструкция
В состав Ventec VT 601 входят:
- диффузор с регулятором расхода (внутренняя часть)
- воздухозаборник (внешняя часть)
- 4 крепежных винта и 4 колпачки
- Самоклеящийся установочный шаблон
- Инструкция по сборке из бумаги
- Видео по сборке и инструкции
* КОМПЛЕКТ DN 601-B-2
.
Цена 27,99 зл. за 1 шт. набора
. .
Предназначен для окон: ПВХ, ДЕРЕВЯНЬ, АЛЮМИНИЙ
Материал входного отверстия: АБС-пластик
Входящий в комплект поставки входной элемент укомплектован и готов к установке.
.
.
Шаблон самоклеящийся для сверления сквозных отверстий под форточки в окнах ПВХ.
.
Шаблон самоклеящийся для сверления сквозных отверстий под форточки.
✅ Шаблон ускоряет монтаж форточки на 50%
✅ Исключает ошибки сверления отверстий
✅ Шаблон в масштабе 1:1
✅ Шаблон подходит только для воздухоотводчиков VT 601 и VT 201
.
Под QR-кодом и ссылкой на видео:
"Установка воздухоотводчика - сверление сквозных отверстий самоклеящимся шаблоном"
QR-код для видео YouTube слева
а ниже — ссылка на это же видео на YouTube
https://youtu.be/FOMgNySn1_Q
Напорные воздухоотводчики (ручные) – саморегулирующиеся. Количество подаваемого воздуха зависит от разницы давления снаружи и внутри помещения. Это происходит до уровня перепада давления, при котором эффективность диффузора достигает максимального значения. Ручной напорный воздухоотводчик можно открывать и закрывать вручную.
.
Преимущества воздухоотводчика Ventec VT 601:
- Чистый и свежий воздух
- Автоматический воздухообмен в зависимости от разницы давления
- Плавная регулировка открытия и закрытия воздухоотводчика
- Возможность установки диафрагм в 12 различных положений положения
- Возможность полного закрытия или открытия воздухоотводчика
- Устраняет влагу из помещения
- Идеальная белизна материала
- Современный и элегантный внешний вид
Вентилятор имеет следующие документы:
- ITB - Национальная техническая оценка KOT
- KDWU - Национальная декларация эксплуатационных качеств
- Сертификат гигиеничный
Технические параметры:
Размеры:
<ул>.
Воздушный поток:
<ул>.
Акустическая изоляция:
<ул>+ ВИДЕО «Монтаж форточки в окне ПВХ»
- БЕСПЛАТНО при каждой покупке форточки (обучающее видео в электронном виде). Фильм высылается по электронной почте сразу после покупки.
На рисунке ниже показано фото. Диск с оригинальной инструкцией.
.
Демонстрационное видео - инструкция по установке форточки в окна ПВХ. Видео представляет собой пошаговую инструкцию, в которой показан каждый этап установки воздухоотводчика. На видео показано, какие именно действия следует предпринять, чтобы правильно установить приточный и воздухозаборник и не повредить окно. Материал можно разделить на две части. В каждой из двух частей видео показано, как легко определить место установки диффузора и наружного воздухозаборника, как просверлить и фрезеровать сквозные отверстия, а также как закрепить диффузор с помощью защелок или крепежных винтов. В первой части показано, как установить воздухозаборник в оконную створку, а во второй — как установить наружный воздухозаборник на оконную раму. Весь фильм длится примерно 13 минут.
Монтаж воздухоотводчика VT 601.
.
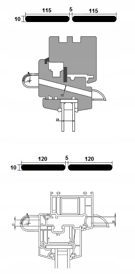
На первом чертеже показан монтаж форточки в деревянном окне. Также показано поперечное сечение сквозных отверстий, а также его диаметр, длина и расстояние между отверстиями.
На втором чертеже показан монтаж воздухоотводчика в окне ПВХ. Также показано поперечное сечение сквозных отверстий, а также его диаметр, длина и расстояние между отверстиями.
.
К каждому заказу диффузора мы прилагаем полные инструкции по установке в бумажном виде.
Оконные форточки – что стоит знать?
.
Что такое оконные форточки?
Оконные форточки — это устройства, которые устанавливаются для обеспечения надлежащей вентиляции воздуха в закрытых помещениях. Воздух внутри становится загрязненным и влажным из-за дыхания людей, приготовления пищи, купания, испарений пластика (ковров, шпона) и сгорания газа. Чрезмерная влажность в помещениях приводит к развитию различных грибков, представляющих опасность для здоровья. Благодаря использованию форточек в помещении поддерживается постоянный уровень влажности воздуха. Использование форточек позволяет избежать ненужного открытия окон, что, безусловно, важно, если в доме есть дети или животные.
.
Как обеспечить правильную вентиляцию в квартире?
Эффективная вентиляция – это организованный воздухообмен во всех помещениях. Поэтому каждое жилое или общественное здание должно просто «дышать». Здания без правильно функционирующей вентиляции подвержены чрезмерному росту влаги, а до развития плесени и грибка всего один шаг. Они, в свою очередь, оказывают прямое влияние на разрушение строительных конструкций и ответственны за многие негативные последствия для нашего здоровья, такие как: аллергия, усталость, головные боли, респираторные заболевания. Эти проблемы можно устранить или предотвратить, установив воздухоотводчики. Принимая во внимание условия, климат в наших домах и помещениях, которые мы используем, мы должны учитывать преимущества использования вентиляционных отверстий.
.
Что такое вентиляционные отверстия?
Вентиляторы — это устройства, предназначенные для контролируемого притока свежего наружного воздуха. Их устанавливают в верхней кромке окна или внешней стене здания. По способу управления мы различаем следующие виды:
- под давлением, с ручным управлением - оснащен диафрагмой, с помощью которой можно вручную изменять эффективность подачи воздуха.
-напорный, автоматический – оснащен автоматической заслонкой, которая автоматически регулирует количество подаваемого воздуха, при этом пользователь может вручную закрыть проем.
-гигроуправляемые – закрываются и открываются автоматически в зависимости от изменения относительной влажности воздуха внутри помещения.
.
Почему мы используем вентиляционные отверстия?
Все чаще наши дома и квартиры проектируются так, чтобы как изоляция здания, так и окна, установленные в стенах, имели наилучшую теплоизоляцию. При строительстве домов и квартир мы заботимся о максимально возможной температуре внутри, часто игнорируя вопрос правильной вентиляции в здании. Отсутствие притока воздуха не только приводит к сырости стен и появлению плесени, но и серьезно угрожает нашему здоровью. Все чаще возникающие болезни, связанные с образом жизни, такие как аллергия или астма, могут быть вызваны микроорганизмами, обнаруженными в окружающей среде – из-за нехватки свежего воздуха. Так как же решить проблему сырости и неподходящей температуры в квартире? Заботясь о вашем комфорте и здоровье, мы создали воздухоотводчики, которые, отвечая всем нормам безопасности, обеспечивают постоянный доступ свежего воздуха в квартиру без существенного снижения температуры в помещении.
.
Какие воздухоотводчики стоит выбрать?
Большой выбор различных типов воздухоотводчиков означает, что у покупателей часто возникают проблемы с окончательным выбором изделия. Учитывая такие критерии
.
.
Установочный комплект Diamond DN 601-B-2 состоит из:
- Воздухозаборник Ventec 601 White (производитель Ventec s.c.)
- Самоклеящийся установочный шаблон (производитель DIAMOND)
- Бумажная инструкция по установке (производитель) ДИАМАНТ)
- Сборочное и обучающее видео (производитель ДИАМАНТ)
.
