DEWALT 429609-00 СТАТОР ДЛЯ ТРАВКУ DW733
- Час доставки: 7-10 днів
- Стан товару: новий
- Доступна кількість: 1
Просматривая «DEWALT 429609-00 СТАТОР ДЛЯ ТРАВКУ DW733», вы можете быть уверены, что данный товар из каталога «Статоры» будет доставлен из Польши и проверен на целостность. В цене товара, указанной на сайте, учтена доставка из Польши. Внимание!!! Товары для Евросоюза, согласно законодательству стран Евросоюза, могут отличаться упаковкой или наполнением.
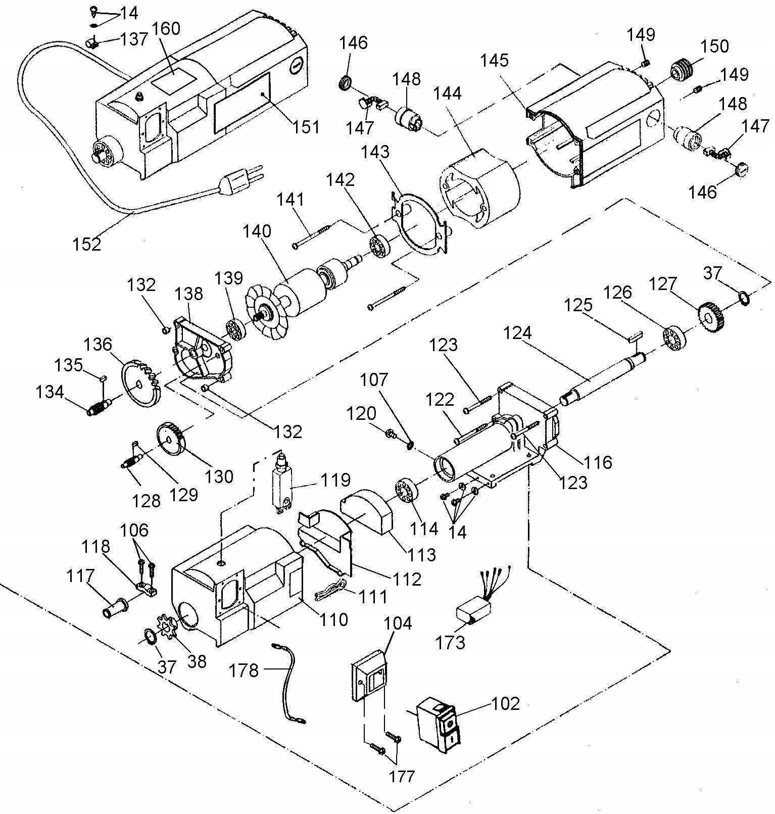
DEWALT 429609-00 для товщини статора
Доступно в моделях:
- DW733, тип 1
- DW733, тип 1A
- DW733 Тип 2
Елемент на схемі № 144
DEWALT є одним із провідних виробників промислових електроінструментів і аксесуарів для електроінструментів. Протягом багатьох років компанія DeWALT заслужила репутацію спеціаліста з проектування та виробництва довговічного промислового обладнання. бренд також завоював репутацію, пропонуючи широкий спектр інструментів, які відповідають потребам професійних користувачів.
