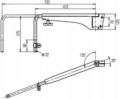
Дзеркальна кронштейна залишила Голландію 47133183 CNH
Код: 13608660410
13068 грн
Ціна вказана з доставкою в Україну
Товар є в наявності
ЯК ЕКОНОМИТИ НА ДОСТАВКЕ?
Замовляйте велику кількість товарів у цього продавця
Інформація
- Час доставки: 7-10 днів
- Стан товару: новий
- Доступна кількість: 10
Заказывая «Зеркальный кронштейн остался Голландия 47133183 CNH» данный товар из каталога «Ходунки», вы можете получить дополнительную скидку 4%, если произведете 100% предоплату. Размер скидки вы можете увидеть сразу при оформлении заказа на сайте. Внимание!!! Скидка распространяется только при заказе через сайт.
Кронштейн дзеркала лівий New Holland 47133183 CNH
Зустрічається, зокрема,
New Holland
- T5000:T5030, T5040, T5050, T5060
- TLA: TL100A, TL70A, TL80A, TL90A
СПРАВА
- JXU: JX105U, JX1070U, JX1080U, JX1090U, JX1100U, JX75U, JX85U, JX95U
Fendt
- Farmer 300 C/CA:307, 308, 309
- Farmer 300 LS(A): 300LSA, 303, 304, 305, 306, 308, 309, 310, 311, 312
- Farmer 300 Turbomatik:307, 308, 309, 310, 311, 312
Номери для порівняння:47133183, G.816.810.150.010
