Жалюзі для АЛЮМІНІЮ Roto Velux
- Час доставки: 7-10 днів
- Стан товару: новий
- Доступна кількість: 99922
Оплачивая «Жалюзі для АЛЮМІНІЮ Roto Velux» данный товар из каталога «Жалюзи на крыше», вы можете получить дополнительную скидку 4%, если произведете 100% предоплату. Размер скидки вы можете увидеть сразу при оформлении заказа на сайте. Внимание!!! Скидка распространяется только при заказе через сайт.
ШТОРА для мансардного вікна
- Виріб ідеально підходить до вашого вікна
- Просте складання
- Механізм MULTI-STOP рулонну штору можна зупинити на будь-якій висоті.
- 2 кольори профілю на вибір (Срібний і Сосна)
- Алюмінієвий корпус і напрямні
- Можливість зупинити рулонні штори на будь-якій висоті
- Завдяки використаній пружині тканина добре натягнута
- Виготовляємо рулонні штори для систем: Fakro, Roto, Velux, Keylight, Ubbink, Rooflite.
- Чудова теплоізоляція для перегріву приміщень
- Темрява 60-70%
- Кожна рулонна штора оснащена щітковим ущільнювачем, який забезпечує щільне закривання рулонної штори.
ДУЖЕ ПРОСТЕ ВСТАНОВЛЕННЯ!
Інсталятори виявили, що ця система є першою, яку так легко встановити. Це не викликає проблем під час встановлення.
Метод вимірювання та покупки.
На цьому аукціоні ви купуєте рулонні штори для кожного дахового вікна від таких компаній: Fakro, Roto, Velux, Keylight, Ubbink і Rooflite.
Під час покупки в полі повідомлення продавцю вкажіть назву виробника та повний символ із таблички на вашому вікні. На основі цього символу ми виготовимо рулонну штору, яка ІДЕАЛЬНО підходить до вашого вікна, яку ви зможете самостійно встановити у вікно завдяки простому монтажу.
Нижче наведено приклади місць, де ви можете знайти вивіску на своєму вікні.
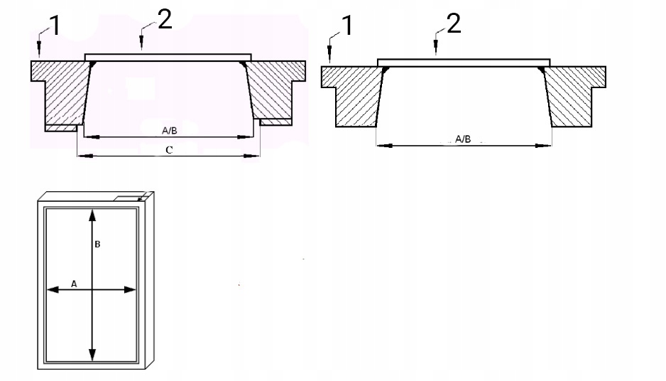
У випадку вікон Velux та Roto додатково надайте нам розміри A та B на основі зображення
1 – Віконна рама
2 - Скло
Вибір кольорів решітки:
Здійснюючи покупку, просимо вказати обраний колір у повідомленні продавцю.
Кольори тканини на вибір:
Під час здійснення покупки вкажіть СИМВОЛ вибраного кольору в повідомленні продавцю.
Додаткові фото:
До кожного придбаного набору входить:
- Шторка на дах
- Алюмінієві напрямні
- Алюмінієвий корпус касети
- Набір кріпильних гвинтів
- Ролетний механізм з пружиною розтягування
- Інструкції зі складання
