Жалюзі для Roto Velux Blackout ALU
- Час доставки: 7-10 днів
- Стан товару: новий
- Доступна кількість: 99817
Просматривая «Жалюзі для Roto Velux Blackout ALU» данное изделие из «Жалюзи на крыше» вы можете быть уверены, что после оформления заказа, доставки в Украину, вы получите именно то, что заказывали, в оговоренные сроки и европейского качества.
ШТОРА для мансардних вікон - 100% затемнення
- Виріб ідеально підходить до вашого вікна
- Просте складання
- Механізм MULTI-STOP рулонну штору можна зупинити на будь-якій висоті.
- 2 кольори профілю на вибір (Срібний і Сосна)
- Алюмінієвий корпус і напрямні
- Можливість зупинити рулонні штори на будь-якій висоті
- Завдяки використаній пружині тканина добре натягнута
- Виготовляємо рулонні штори для систем: Roto, Velux
- Чудова теплоізоляція для перегріву приміщень
- Тканина блокує 100% світла
- Кожна рулонна штора оснащена щітковим ущільнювачем, який забезпечує щільне закривання рулонної штори.
ДУЖЕ ПРОСТЕ ВСТАНОВЛЕННЯ!
Інсталятори виявили, що ця система є першою, яку так легко встановити. Це не викликає проблем під час встановлення.
Метод вимірювання та покупки.
На цьому аукціоні ви купуєте рулонні штори для кожного дахового вікна від таких компаній: Fakro, Roto, Velux, Keylight, Ubbink і Rooflite.
Під час покупки в полі повідомлення продавцю вкажіть назву виробника та повний символ із таблички на вашому вікні. На основі цього символу ми виготовимо рулонну штору, яка ІДЕАЛЬНО підходить до вашого вікна, яку ви зможете самостійно встановити у вікно завдяки простому монтажу.
Нижче наведено приклади місць, де ви можете знайти вивіску на своєму вікні.
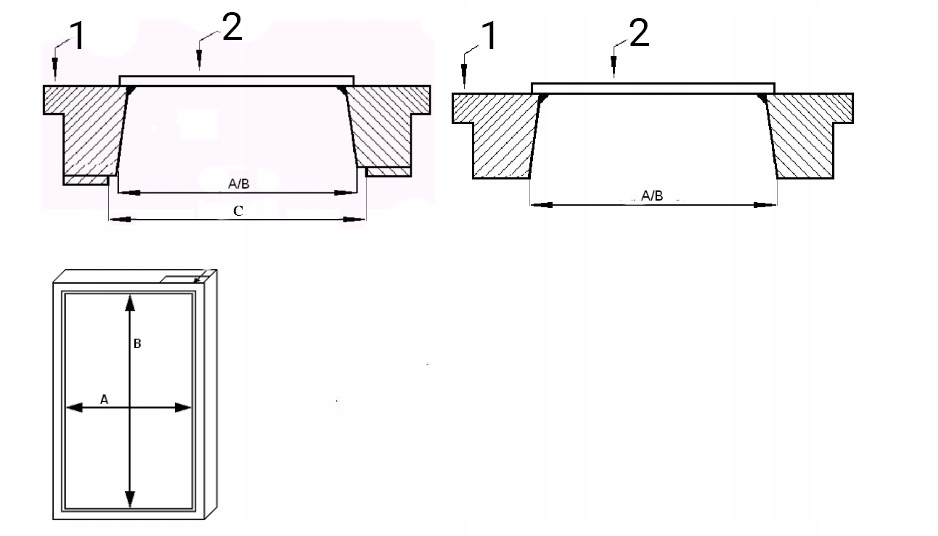
У випадку вікон Velux та Roto додатково надайте нам розміри A та B на основі зображення
1 – Віконна рама
2 - Скло
Ця пропозиція поширюється на рулонні штори для більшості моделей вікон ROTO та VELUX
Вибір кольорів решітки:
Здійснюючи покупку, просимо вказати обраний колір у повідомленні продавцю.
Тришарова тканина
Завдяки трьом шарам ви отримуєте чудову теплоізоляцію.
Кольори тканини на вибір:
Під час здійснення покупки вкажіть СИМВОЛ вибраного кольору в повідомленні продавцю.
Додаткові фото:
До кожного придбаного набору входить:
- Шторка на дах
- Алюмінієві напрямні
- Алюмінієвий корпус касети
- Набір кріпильних гвинтів
- Ролетний механізм з пружиною розтягування
- Інструкції зі складання
