Поїлка однокамерна, 25 л, ізольована, проти замерзання
- Час доставки: 7-10 днів
- Стан товару: новий
- Доступна кількість: 166
Заказывая «Поїлка однокамерна, 25 л, ізольована, проти замерзання» данный товар из каталога «Поилки», вы можете получить дополнительную скидку 4%, если произведете 100% предоплату. Размер скидки вы можете увидеть сразу при оформлении заказа на сайте. Внимание!!! Скидка распространяется только при заказе через сайт.
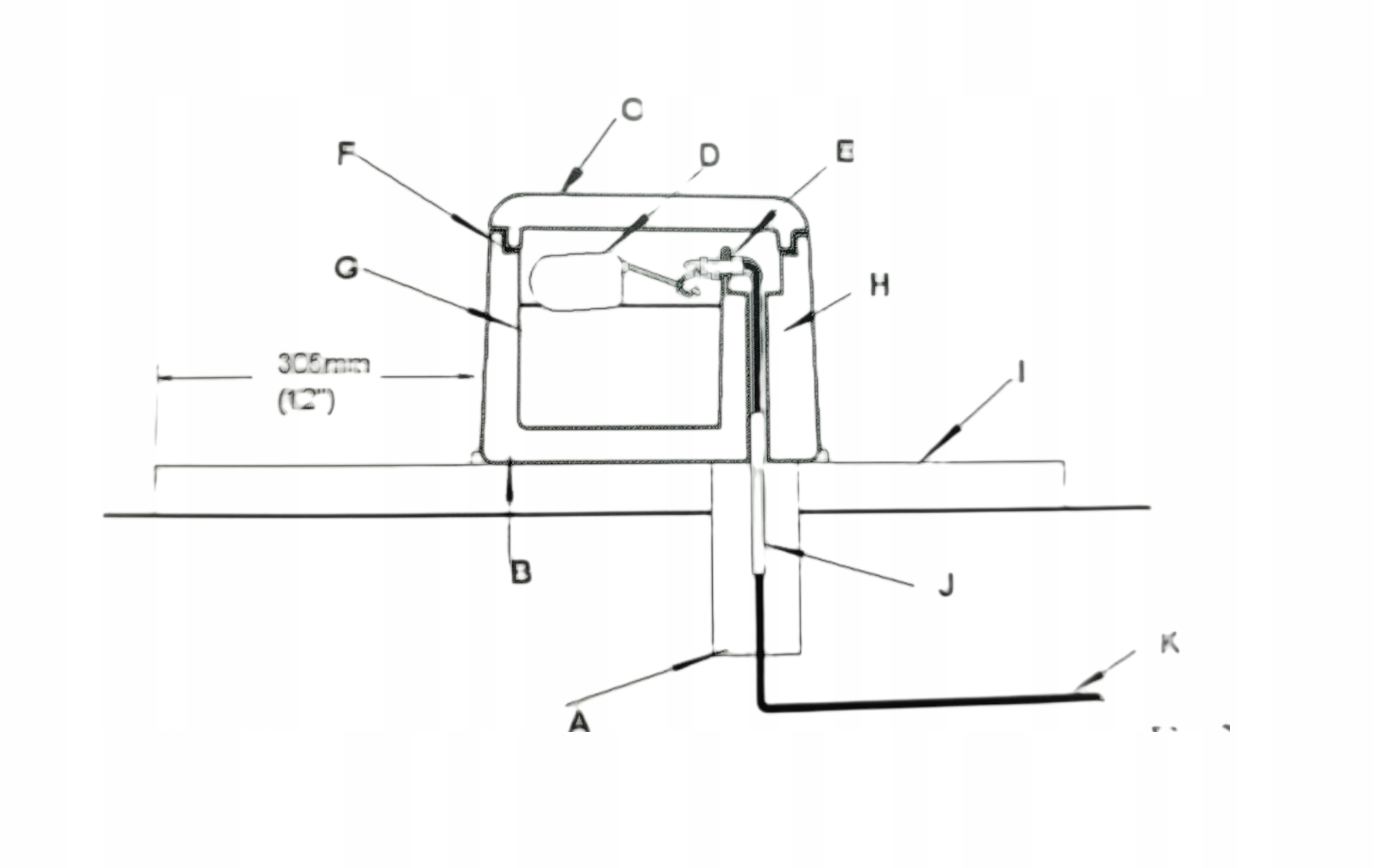
Поїлка ізольована однокамерна ємністю 25 л
Ізоляційні поїлки виготовлені з високоякісного поліетилену. Подвійні стінки поїлок заповнені пінополіуретаном, який підтримує оптимальну температуру води навіть в екстремальних кліматичних умовах. Виготовлений з високоякісного поліетилену, ідеально підходить для вільних кошарів і пасовищ.
Вода захищена спеціальною кришкою, яку можна легко відкрити за допомогою торцевого ключа. Тварини отримують доступ до води, натискаючи на білу кульку. Правильне використання лійок запобігає замерзанню води навіть при -25ºC.
Головна перевага цих поїлок полягає в тому, що вони не потребують електрики, як інші незамерзаючі поїлки. Вони також дуже ефективно зберігають воду прохолодною в теплі дні.
Кожна поїлка оснащена поплавковим клапаном продуктивністю 36 л/хв, великою зливною пробкою (75 мм), 1 білою кулькою доступу, гнучким ½-дюймовим шлангом зі сталевою опліткою (для подачі води з дна поїлки). ) і 1 метр ізоляційної трубки до водопроводу.
Чотири підготовлені монтажні отвори забезпечують безпечне встановлення на землю.
ПЕРЕВАГИ
- легкість використання, транспортування та переміщення
- повністю регульовані та доступні клапани, що відповідають санітарним нормам.
- забезпечить ваших тварин свіжою, чистою та легкодоступною питною водою
- клапан захищений кришкою з легким доступом
- виготовлений із посиленого матеріалу
- висока стійкість до замерзання/відтавання
- гладка поверхня, що забезпечує безпеку та легкість очищення
- не потребує електроенергії
- підтримує температуру води в екстремальних умовах
Поїлки оснащені:
- клапанами швидкого наповнення
- зливною пробкою,
- 1 або 2 кульки для доступу до води
Об'єм: 25 л.
Розміри: 620 x 560 x 350 мм
