Ventec VT501 віконний вентилятор для вікон білий
- Час доставки: 7-10 днів
- Стан товару: новий
- Доступна кількість: 6938
Просматривая «Ventec VT501 оконный вентилятор для окон белый» данное изделие из «Диффузоры» вы можете быть уверены, что после оформления заказа, доставки в Украину, вы получите именно то, что заказывали, в оговоренные сроки и европейского качества.
Предметом аукціону є:
Напірний вентиляційний клапан - ручний
Модель: Ventec VT 501
Колір: Білий
Ventec VT 501 містить:
- впускний патрубок з регулятором потоку (внутрішня частина)
- забірник повітря (зовнішня частина) )< /li>
- 4 кріпильні гвинти та 4 ковпачки
.
Ціна 32,99 злотих за 1 шт. (набір)
. .
Призначено для вікон: ПВХ, ДЕРЕВО, АЛЮМІНІЙ
Матеріал входу: АБС-пластик
Повітровідвідник укомплектований і готовий до монтажу.
.
+ ВІДЕО "Встановлення вентиляційного отвору у вікно ПВХ"
- БЕЗКОШТОВНОпри кожній покупці дифузора (навчальне відео в електронному вигляді)
Напірні вентиляційні отвори (ручні) - саморегульовані. Кількість повітря, що подається, залежить від різниці тиску ззовні та всередині приміщення. Це відбувається до рівня різниці тисків, при якому ефективність дифузора досягає максимального значення. Повітровідвідник із ручним тиском можна закривати та закривати вручну.
.
Переваги вентиляційного отвору Ventec VT 501:
- Чисте та свіже повітря
- Автоматичний обмін повітря залежно від різниці тиску
- Плавне регулювання відкривання та закривання вентиляційного отвору
- Можливість налаштування діафрагми в 18 різних положеннях
- Можливість повністю закривати або відкривати вентиляційний отвір
- Усуває вологу з приміщення
- Ідеальний білий матеріал
- Сучасний і елегантний вигляд
Повітрозабірник має такі документи:
- ITB - KOT Національна технічна оцінка
- KDWU - Національна декларація ефективності
- Гігієнічний сертифікат
- li>
Технічні параметри:
Розміри:
- 399x26x30 мм (довжина х висота х ширина) вентиляційний отвір < /li>
- 399x20x26 мм (довжина x висота x ширина) повітрозабірник
.
Потік повітря:
- 30,0 м3/год при 10 Па
- 43,0 м3/год при 20 Па
.
Акустична ізоляція:
- відкритий вентиляційний отвір 32 дБ
- закритий вентиляційний отвір 34 дБ
+ ВІДЕО "Монтаж форсунки у вікно ПВХ"
- БЕЗКОШТОВНО при кожній покупці форсунки (навчальне відео в електронному вигляді). Фільм надсилається електронною поштою одразу після покупки.
На малюнку нижче показано кадр із демонстраційного фільму.
.
Демонстраційний фільм – інструкція по Як встановити вентиляційний отвір у вікнах ПВХ. Відео являє собою покрокову інструкцію, в якій показаний кожен етап монтажу воздухоотводчика. На відео показано, які саме дії потрібно зробити, щоб правильно встановити повітрозабірник і повітрозабірник і не пошкодити вікно. Матеріал можна розділити на дві частини. У кожній з двох частин відеоролику показано, як легко визначити місце встановлення дифузора та зовнішнього повітрозабірника, як просвердлити наскрізні отвори та відфрезерувати їх, як закріпити дифузор за допомогою засувок або кріпильних гвинтів. У першій частині показано, як встановити повітрозабірник у віконну стулку, а в другій – як встановити зовнішній повітрозабірник на віконну раму. Весь фільм триває приблизно 13 хвилин.
Встановлення вентиляційного отвору VT 501.
.
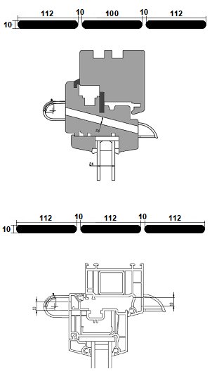
На першому кресленні показана установка вентиляційного отвору в дерев'яному вікні. Також показано поперечний переріз наскрізних отворів разом із його діаметром, довжиною та відстанню між отворами.
Другий малюнок показує монтаж вентиляційного отвору у вікні ПВХ. Також показано поперечний переріз наскрізних отворів разом із його діаметром, довжиною та відстанню між отворами.
.
Ми додаємо повні інструкції з встановлення паперу до кожного замовлення дифузора.
Віконні вентиляційні отвори - що варто знати?
.
Що таке віконні отвори?
Віконні вентиляційні отвори – це пристрої, встановлені для забезпечення належної вентиляції повітря в закритих приміщеннях. Повітря всередині стає забрудненим і вологим через те, що люди дихають, готують, купаються, випаровують пластик (килими, шпон) і горять гази. Надмірна вологість в приміщеннях призводить до розвитку різних грибків, які становлять небезпеку для здоров'я. Завдяки використанню вентиляційних отворів в приміщенні підтримується постійний рівень вологості повітря. Використання вентиляційних отворів дозволяє уникнути непотрібного відкривання вікон, що, безумовно, важливо, якщо в будинку є діти або тварини.
.
Як забезпечити належну вентиляцію в квартирі?
Ефективна вентиляція означає організований повітрообмін у всіх приміщеннях. Тому будь-яка житлова чи громадська будівля повинна просто «дихати».Будинки без належно функціонуючої вентиляції піддаються надмірному зростанню вологи, що лише за крок від розвитку плісняви та грибка, які, у свою чергу, безпосередньо впливають на руйнування будівельних конструкцій і відповідальні за багато негативних наслідків для нашого здоров'я, таких як: алергія, втома, головні болі, респіраторні захворювання. Ці проблеми можна усунути або запобігти, встановивши вентиляційні отвори. Беручи до уваги кліматичні умови в наших домівках і кімнатах, які ми використовуємо, ми повинні враховувати переваги використання повітряних дифузорів.
.
Що таке вентиляційні отвори?
Вентиляційні отвори – це пристрої, призначені для контрольованого надходження свіжого зовнішнього повітря. Вони встановлюються у верхнього краю вікна або зовнішньої стіни будівлі. За способом контролю розрізняємо такі види:
- під тиском, з ручним керуванням - оснащений діафрагмою, за допомогою якої ми можемо вручну змінювати ефективність подачі повітря.
-напірний, автоматичний - оснащений автоматичною заслінкою, яка автоматично регулює кількість повітря, що подається, і при цьому користувач може вручну закрити отвір.
-гігрокеровані - закриваються і відкриваються автоматично в залежності від зміни відносної вологості повітря всередині приміщення.
.
Чому ми використовуємо вентиляційні отвори?
Все частіше наші будинки та квартири сконструйовані таким чином, щоб ізоляція будівлі, і вікна, встановлені в стінах, характеризувались найкращою теплоізоляцією. При будівництві будинків і квартир ми дбаємо про те, щоб забезпечити максимально можливу температуру всередині, часто не звертаючи уваги на питання належної вентиляції в будівлі. Відсутність повітряного потоку не тільки призводить до вогкості стін і появи цвілі, але й серйозно загрожує нашому здоров’ю. Хвороби способу життя, такі як алергія чи астма, які дедалі частіше виникають, можуть бути спричинені мікроорганізмами, які знаходяться в навколишньому середовищі - через брак свіжого повітря. Тож як боротися з проблемою вологи та невідповідної температури в квартирі? Дбаючи про ваш комфорт і здоров'я, ми створили вентиляційні отвори, які, відповідаючи всім стандартам безпеки, забезпечують постійний доступ свіжого повітря до квартири без істотного зниження температури в приміщенні.
.
Які вентиляційні отвори варто вибрати?
Широкий вибір різних типів вентиляційних отворів означає, що клієнти часто мають проблеми з остаточним вибором продукту. Враховуючи такі критерії
