РАМА 30Х40 ДЕРЕВЯНА КАДРА ДЛЯ ФОТОГРАФІЇ
- Час доставки: 7-10 днів
- Стан товару: новий
- Доступна кількість: 200
Оплачивая «РАМА 30X40 ДЕРЕВЯННАЯ СОСНА РАМА ДЛЯ КАРТИНЫ» данный товар из каталога «Рамки для фотографий», вы можете получить дополнительную скидку 4%, если произведете 100% предоплату. Размер скидки вы можете увидеть сразу при оформлении заказа на сайте. Внимание!!! Скидка распространяется только при заказе через сайт.
Овальна рамка з сосни 40х30 см / 30х40 см
Номер за каталогом: SO2010-30x40
- Колір: натуральний - необроблена сосна
- Покриття: матове< /li>
- Внутрішні розміри рами: 30 см x 40 см
- Зовнішні розміри рами: 33 см x 43 см< /li>
- Розміри профілю: 2 см х 1 см
- Форма рами: прямокутна
- Матеріал : необроблена соснова деревина, оргскло, плита HDF
- Товщина оргскла: 1 мм
- Товщина плити HDF: 3 мм li>
- Захисна плівка: з обох боків оргскла
- Збірка плаката: затискачі (без інструментів) li>
- Спосіб підвішування:вертикально, горизонтально
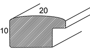
РОЗМІРИ МАТЕРІАЛІВ, ВИКОРИСТАНИХ У РАМІ
- Ширина профілю рами спереду становить 20 мм, а збоку - 10 мм. b>
- Дуже якісне оргскло, товщина 1 мм, захищене фольгою з обох боків для транспортування.
- Увесь матеріал міцний з HDF плитою b> товщиною 3 мм.
МОЖЛИВІСТЬ ВЕРТИКАЛЬНОГО ТА ГОРИЗОНТАЛЬНОГО ВИВІШЕННЯ
Завдяки кріпленням, розташованим горизонтально та вертикально b>, ми можемо повісити раму в будь-якому положенні, залежно від наших потреб.
Усі рамки розміром до 18x24 см мають ніжку, завдяки якій ми можемо розмістити нашу раму, наприклад, на столі.
ПЕРЕВАГИ ДЕРЕВ'ЯНОЇ РАМИ:
- Фасадна частина злегкого та безпечного оргскла товщиною 1 мм, яке не б’ється так легко, як скло,
- Оргскло не так відбиває світло, як скло,
- Задня сторона виготовлена з міцної плитиHDF товщиною 3 мм,
- Рамку можна повісити вертикально або горизонтально завдяки додатковим вішалкам, розташованим ззаду.
- Вам не потрібні жодні інструменти для створення рамки плакати , фотографії чи малюнки в наших рамках,
- Рамки польського виробника, купуючи у нас, ви підтримуєте місцевий бізнес.
ПОСТЕР ІНСТРУКЦІЯ З МОНТАЖУ< /h1>
Зібрати постер або фотографію в рамку дуже просто. Ззаду є застібки, просто відстібніть їх і зніміть спинку. Необхідно зняти захисну плівку з обох сторін оргскла, розмістити постер або фотографію і поставити зворотну сторону на місце. Нарешті, ми встановлюємо кріплення, щоб вони зафіксувалися.
Приклад дизайну інтер'єру
Завдяки використанню безпечного оргскла в наших рамах вони безпечніші у разі падіння та легші, ніж рамки зі склом, завдяки чому рамки, придбані у нас, можна підвішувати в місцях, де безпека особливо важлива (дитячі садки, школи та інші громадські місця).
