ШПИЛЬКИ ДВІЙНІ ДЛЯ ПІНОПОЛІСТИРОЛУ LFN ДОВГА ЗОНА 18 СМ
Код: 13359808455
1823 грн
Ціна вказана з доставкою в Україну
Товар є в наявності
ЯК ЕКОНОМИТИ НА ДОСТАВКЕ?
Замовляйте велику кількість товарів у цього продавця
Інформація
- Час доставки: 7-10 днів
- Стан товару: новий
- Доступна кількість: 2
Просматривая «ШПИЛЬКИ ДВІЙНІ ДЛЯ ПІНОПОЛІСТИРОЛУ LFN ДОВГА ЗОНА 18 СМ», вы можете быть уверены, что данный товар из каталога «Штифты и заглушки» будет доставлен из Польши и проверен на целостность. В цене товара, указанной на сайте, учтена доставка из Польши. Внимание!!! Товары для Евросоюза, согласно законодательству стран Евросоюза, могут отличаться упаковкой или наполнением.
ШТИРКИ ДЛЯ ПІНОПОЛІСТИРОЛУ LFN, ДОВГА ЗОНА 18 СМ
Привідний з'єднувач із пластиковим штирем і довгою зоною розширення.
Характерні особливості:
- З’єднувач виготовлено з поліетилену.
- Штифт, посилений скловолокном, забезпечує високу міцність під час встановлення.
- Конструкція головки штиря полегшує встановлення та ущільнення з’єднання між штифтом і роз’ємною втулкою.
- li>
- Інноваційна конструкція втулки – більша жорсткість натискної пластини, надійний тиск закріпленого матеріалу.
- Довга зона розширення забезпечує надійний і рівномірний розподіл зусиль у підкладці.
- З’єднувач LTX-10 слід використовувати для передачі вітрового всмоктувального навантаження та забезпечення додаткової механічної підтримки для всієї системи.
Рекомендовано для:
- пінополістирол EPS,
- пінополістирол XPS.
Основа:
- Повнотіла керамічна цегла,
- Повнотіла силікатна цегла,
- Керамічна пустотіла цегла,
- Піроподібна бетон.
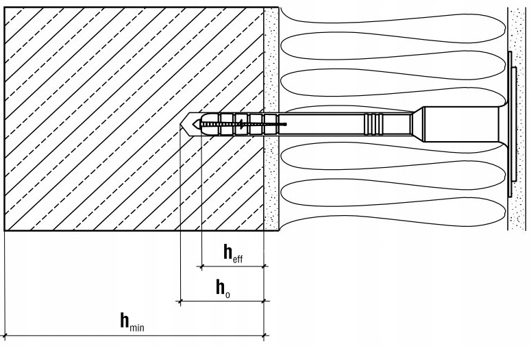
Технічні параметри:
- Діаметр з'єднувача (dk): 10 мм
- Діаметр фланця ( Dk): 60 мм
- Глибина кріплення (heff): 70 мм
- Глибина монтажного отвору (ho): 75 мм
- Діаметр отвору/свердла (до): 10 мм
- Мінімальна товщина основи (hmin): 100 мм
Параметри:
- Діаметр: 10 мм
- Довжина: 180 мм< /li>
- Матеріал оболонки: поліетилен
- Матеріал штока: поліамід, армований скловолокном
- Діаметр і довжина гільзи (dk x Lk): 10x180 мм
- Тип роз'єму: Ковковий
- Кількість в упаковці: 200 шт.
- Код товару:LFN10180(200)
