СТАЛЕВИЙ ТОКАРНИЙ ПАТТРОН 250ММ C6 3 КУЛАЧНИЙ ПРИВОД
Код: 13153082385
74194 грн
Ціна вказана з доставкою в Україну
Товар є в наявності
ЯК ЕКОНОМИТИ НА ДОСТАВКЕ?
Замовляйте велику кількість товарів у цього продавця
Інформація
- Час доставки: 7-10 днів
- Стан товару: новий
- Доступна кількість: 1
Оплачивая «СТАЛЕВИЙ ТОКАРНИЙ ПАТТРОН 250ММ C6 3 КУЛАЧНИЙ ПРИВОД», вы можете быть уверены, что данный товар из каталога «Держатели и приспособления для крепления» будет доставлен из Польши и проверен на целостность. В цене товара, указанной на сайте, учтена доставка из Польши. Внимание!!! Товары для Евросоюза, согласно законодательству стран Евросоюза, могут отличаться упаковкой или наполнением.
СТАЛЕВИЙ ТОКАРНИЙ ПАТРОНОВИЙ 250 ММ C6 3-КУЛАЧНИЙ ОТВЕРТ
МИ ПРОПОНУЄМО
САМОЦЕНТРЮВАЛЬНИЙ СТАЛЕВИЙ ТОКАРНИЙ ПАТРОНО
FI 250 мм З ВІДВОРТОМ C6 ТА ТРЬОХ КОМПЛЕКТІВ ЩЕЛЕП ВІД ІНДІЙСЬКОГО ВИРОБНИКА SHARP
- тримач у стандарті DIN 6350 - це польська стандартизація згідно BISON. Відповідно до цього стандарту, відстань між монтажними гвинтами в рукоятці, розміри ручки та встановлення під драйвером сумісні з драйверами, які використовуються на польському ринку.
- Главки та всі запасні елементи є сумісний із запчастинами Bison
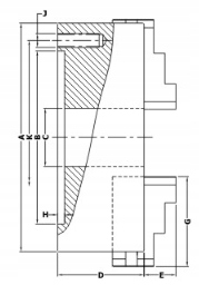
НА КРЕСЛЕННІ НИЖЧЕ ПОКАЗАНО РОЗМІРИ ДЛЯ ПРИГРУНЧЕННЯ ПРИВОДУ ДО МАШИНИ
- A -250 мм
- B -170 мм
- C -6,5 мм
- li>
- D -19,45 мм
- E -M 12
- F -106,375 мм
- G -133,4 мм< /li>
- H -16mm
- K MIN -65mm
- M -40mm
- КІЛЬКІСТЬ ГВИНТОВ E -4
НА КРЕСЛЕННІ НИЖЧЕ ПОКАЗАНО РОЗМІРИ РУЧКИ З ВИГРУТКОВОЮ ГАЙКОЮ
- A -250 мм
- B (ТОЧНІСТЬ H7) -200 мм
- C -75 мм< /li>
- D -85 мм
- E -34 мм
- G -105 мм
- H -6 мм
- J -m12< /li>
Технічні параметри
- Виготовлена зі сталі
- Твердість корпусу ручки 185-210 BHN. (Шкала Бріннеля)
- Твердість спіралі (равлик) 30-35 HRC
- Твердість горіхів 40-50 HRC
- Твердість губок 54-62 HRC
Жорсткі губки поєднуються з ручкою. Усі губки та рукоятка мають однаковий номер розрізу.
Ручки нові, дуже якісні, за якістю виконання, акуратністю та естетичністю не відрізняються від ручок польського виробництва.
НАБІР ВКЛЮЧАЄ:
- РУЧКУ
- ЗОВНІШНІ ЩЕЛЕПИ
- ВНУТРІШНІ ЩЕЛЕПИ
- М'ЯКІ ЩЕЛЕПИ
- ГАЙКОВИЙ КЛЮЧ
- Гвинти
- ДИСК З ГВИНТОВОЮ ГАЙКОВІТКОЮ
- ОРИГІНАЛЬНА УПАКОВКА
