Top Racing Standard 2T 50 см. Peugeot Speedfight 2 WRC 2004-EU
- Час доставки: 7-10 днів
- Стан товару: новий
- Доступна кількість: 24
Просматривая «Стандарт Top Racing 2t 50 CCM Peugeot Speedfight 2 WRC 2004-EU» данное изделие из «Коленчатые валы» вы можете быть уверены, что после оформления заказа, доставки в Украину, вы получите именно то, что заказывали, в оговоренные сроки и европейского качества.
ТОГО РОСУВАННЯ СТАНДАРТ 2T 50 См.
- Виробник: jasil - верхні гоночні деталі для скутерів
- Символ продукту: waj6030127
- Складове місце: w20
колінчастий вал Top Racing 2T 50 см.
Код продукту: WAJ6030127
характеристики Продукт:
· Карбійський вал Top Racing/Jasil для двигунів 2T 50 см
· Найвищий Заміна якості, не відрізняється від початкової частини
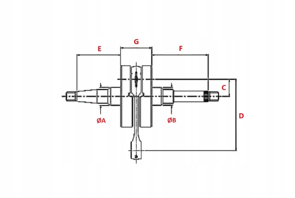
· Підшипник поршневий штифт - 12x15x15 мм
· Розміри:
a - 20,00 мм
b - 20,00 мм
c - 19,70 мм
d - 80,00 мм
e - 70,00 мм
f - 89,50 мм
g - 43,00 мм
· Вироблений Відповідно до стандартів якості ISO
застосування : peugeot speedfight 2 лише до Версія WRC 2004, Деталі в "" підходять до " та таблиці нижче
jasil - португальська компанія, що займається обробкою металу, основна діяльність якої - це виробництво деталей та аксесуарів для мотоциклів та Скутер. Результат - 70 років досвіду та прагнення до досконалості Постійні інвестиції в нові технології, розробка нових продуктів, догляд за Якість з концентрацією на кінцевому одержувачі
