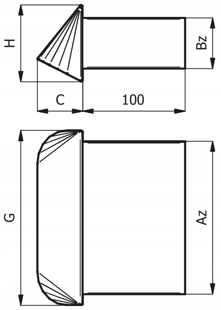
Вхід повітря до антрацитного каналу 150x50 мм
Код: 17118549879
1797 грн
Ціна вказана з доставкою в Україну
Товар є в наявності
ЯК ЕКОНОМИТИ НА ДОСТАВКЕ?
Замовляйте велику кількість товарів у цього продавця
Інформація
- Час доставки: 7-10 днів
- Стан товару: новий
- Доступна кількість: 1017
Просматривая «Потребление воздуха до антрацитового канала 150x50 мм», вы можете быть уверены, что данный товар из каталога «Провода и каналы» будет доставлен из Польши и проверен на целостность. В цене товара, указанной на сайте, учтена доставка из Польши. Внимание!!! Товары для Евросоюза, согласно законодательству стран Евросоюза, могут отличаться упаковкой или наполнением.
Прийом повітря до каналу 150x50 мм із символом CZNP150x50-A, виготовленим з оцинкованого простого простирадла в антрацитному кольорі
Впуск повітря широко використовується при розподілі гарячого повітря з камінів, у вентиляційних або системах постачання (наприклад, до котельної кімнати).
Його додатковою перевагою є металева сітка для комах .
пристосування. Матеріал
