Віконний вентилятор VT 101 Антрацит
- Час доставки: 7-10 днів
- Стан товару: новий
- Доступна кількість: 9799
Просматривая «Віконний вентилятор VT 101 Антрацит», вы можете быть уверены, что данный товар из каталога «Диффузоры» будет доставлен из Польши и проверен на целостность. В цене товара, указанной на сайте, учтена доставка из Польши. Внимание!!! Товары для Евросоюза, согласно законодательству стран Евросоюза, могут отличаться упаковкой или наполнением.
Предметом аукціону є:
Автоматичний повітровідвідник
Модель: Ventec VT 101
Колір: Антрацит
Ventec VT 101 включає:
- впускний отвір із регулятором потоку (внутрішня частина)
- забірник повітря (зовнішня частина)
- li>
- 4 кріпильні гвинти та 4 ковпачки
.
Ціна 48,99 злотих за 1 шт. (набір)
. .
Призначено для вікон: ПВХ, ДЕРЕВО, АЛЮМІНІЙ
Матеріал входу: АБС-пластик
Повітряник готовий до монтажу.
.
+ ВІДЕО "Встановлення вентиляційника у вікно ПВХ"
- БЕЗКОШТОВНОпри кожній покупці дифузора (навчальне відео в електронному вигляді)
- БЕЗКОШТОВНОпри кожній покупці мін. 4 вентиляційні отвори (навчальне відео на CD)
Автоматичні напірні вентиляційні отвори - саморегульовані. Кількість повітря, що подається, залежить від різниці тиску ззовні та всередині приміщення. Це відбувається до рівня різниці тисків, при якому ефективність дифузора досягає максимального значення. Коли вони продовжують підніматися, крила відхиляються, обмежуючи кількість повітря, що подається. Таку ситуацію може викликати, наприклад, порив вітру. Користувач може закрити віконницю, обмеживши потік повітря до мінімуму.
.
Переваги вентиляційного отвору Ventec VT 101:
- Чисте та свіже повітря
- Автоматичний обмін повітря залежно від різниці тиску
- 3 машини тиску
- Плавне регулювання відкриття та закриття вентиляційний отвір
- Можливість встановити отвори в 18 різних положеннях
- Можливість повністю закривати або відкривати вентиляційний отвір
- Усуває вологу з приміщення
- Ідеальний білий матеріал
- Сучасний та елегантний вигляд< /li>
Повітрозабірник має такі документи:
- ITB - Національна технічна оцінка KOT
- KDWU - Національна декларація про характеристики
- Гігієнічний сертифікат
Застосування Ventec Vt 101
Автоматичний напірний вентиляційний пристрій VT 101 – це пристрій, який керовано забезпечує правильну подачу повітря в приміщення. Повітрозабірник ВТ 101 використовується в механічній, гравітаційній і гібридній вентиляції як елемент віконної системи вентиляції. Дифузор працює автоматично і не потребує живлення.
.
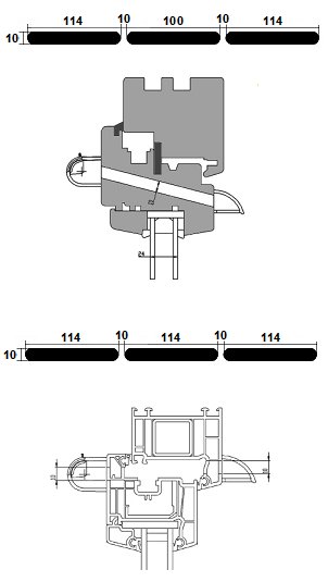
На фото нижче показано дифузор VT 101 зсередини (ззаду). Стрілки показують 3 незалежні регулятори тиску.
Принцип роботи воздухоотводчика VT 101
Регулятор вентиляції VT 101 оснащений 3 незалежними регуляторами тиску, які залежать від різниці тиску в кімнатах. і його оточення автоматично стабілізують кількість повітря, що подається, таким чином запобігаючи надмірному повітрообміну. Крім того, регулятор має три незалежні ручні заслінки, що дають можливість додаткового ручного регулювання потоку повітря. Додатковим елементом повітрозабірника VT 101 є повітрозабірник, який захищає від дощової води та комах.
Технічні параметри:
Розміри:
- 399x26x30 мм (довжина х висота х ширина) вентиляційний отвір < /li>
- 399x20x26 мм (довжина x висота x ширина) повітрозабірник
.
Потік повітря:
- 27,0 м3/год при 10 Па
- 33,0 м3/год при 20 Па
.
Акустична ізоляція:
- відкритий вентиляційний отвір 32 дБ
- закритий вентиляційний отвір 34 дБ
Доступні стандартні кольори:
- білий
- світло-коричневий
- темно-коричневий
- Антрацит
- Світло-коричневий/Білий
- Темно-коричневий/Білий
- Антрацит/Білий
Доступний на нашому інші аукціони Allegro.
+ ВІДЕО "Монтаж форсунки у вікно ПВХ"
- БЕЗКОШТОВНО при кожній покупці форсунки (навчальне відео в електронному вигляді). Фільм надсилається електронною поштою відразу після покупки.
- БЕЗКОШТОВНО при кожній покупці мін. 4 вентиляційні отвори (навчальне відео на CD). Компакт-диск входить до комплекту поставки вентиляційних отворів.
Фільм можна дивитися на будь-якому комп’ютері, формат CD-ROM
Код-диск має номер ISBN 978-83-954947 -1-0
p>
.
На компакт-диску є демонстраційне відео про те, як встановити вентиляційний отвір у вікна ПВХ. Відео являє собою покрокову інструкцію, яка показує кожен етап монтажу воздухоотводчика. На відео показано, які саме дії потрібно виконати, щоб правильно встановити повітрозабірник і повітрозабірник і не пошкодити вікно. Матеріал можна розділити на дві частини. У кожній з двох частин відеоролику показано, як легко визначити місце встановлення дифузора та зовнішнього повітрозабірника, як просвердлити наскрізні отвори та відфрезерувати їх, як закріпити дифузор за допомогою засувок або кріпильних гвинтів. У першій частині показано, як встановити повітрозабірник у віконну стулку, а в другій – як встановити зовнішній повітрозабірник на віконну раму. Весь фільм триває близько 13 хвилин. Диск записаний у форматі CD-ROM і доступний для перегляду на будь-якому комп'ютері.
.
Встановлення вентиляційного отвору VT 101.
.
На першому малюнку показана установка вентиляційного отвору в дерев'яному вікні. Також показано поперечний переріз наскрізних отворів разом із його діаметром, довжиною та відстанню між отворами.
Другий малюнок показує монтаж вентиляційного отвору у вікні ПВХ. Також показано поперечний переріз наскрізних отворів разом із його діаметром, довжиною та відстанню між отворами.
.
Ми додаємо повні інструкції з встановлення паперу до кожного замовлення дифузора.
Віконні вентиляційні отвори - що варто знати?
.
Що таке віконні отвори?
Віконні вентиляційні отвори – це пристрої, встановлені для забезпечення належної вентиляції повітря в закритих приміщеннях. Повітря всередині стає забрудненим і вологим через те, що люди дихають, готують, купаються, випаровують пластик (килими, шпон) і горять гази. Надмірна вологість в приміщеннях призводить до розвитку різних грибків, які становлять небезпеку для здоров'я. Завдяки використанню вентиляційних отворів в приміщенні підтримується постійний рівень вологості повітря. Використання вентиляційних отворів дозволяє уникнути непотрібного відкривання вікон, що, безумовно, важливо, якщо в будинку є діти або тварини.
.
Як забезпечити належну вентиляцію в квартирі?
Ефективна вентиляція означає організований повітрообмін у всіх приміщеннях. Тому будь-яка житлова чи громадська будівля повинна просто «дихати».Будинки без належно функціонуючої вентиляції піддаються надмірному зростанню вологи, що лише за крок від розвитку плісняви та грибка, які, у свою чергу, безпосередньо впливають на руйнування будівельних конструкцій і є причиною багатьох негативних наслідків для нашого здоров'я, таких як: алергія, втома, головні болі, респіраторні захворювання. Ці проблеми можна усунути або запобігти, встановивши вентиляційні отвори. Беручи до уваги кліматичні умови в наших домівках і кімнатах, які ми використовуємо, ми повинні враховувати переваги використання повітряних дифузорів.
.
Що таке вентиляційні отвори?
Вентиляційні отвори – це пристрої, призначені для контрольованого надходження свіжого зовнішнього повітря. Вони встановлюються у верхнього краю вікна або зовнішньої стіни будівлі. За способом контролю розрізняємо такі види:
- під тиском, з ручним керуванням - оснащений діафрагмою, за допомогою якої ми можемо вручну змінювати ефективність подачі повітря.
-напірний, автоматичний - оснащений автоматичною заслінкою, яка автоматично регулює кількість повітря, що подається, і при цьому користувач може вручну закрити отвір.
-гігрокеровані - закриваються і відкриваються автоматично в залежності від зміни відносної вологості повітря всередині приміщення.
.
Чому ми використовуємо вентиляційні отвори?
Все частіше наші будинки та квартири сконструйовані таким чином, щоб як ізоляція будівлі, так і вікна, встановлені в стінах, характеризувались найкращою теплоізоляцією. При будівництві будинків і квартир ми дбаємо про те, щоб забезпечити максимально можливу температуру всередині, часто не звертаючи уваги на питання належної вентиляції в будівлі. Відсутність повітряного потоку не тільки призводить до вогкості стін і появи цвілі, але й серйозно загрожує нашому здоров’ю. Хвороби способу життя, такі як алергія чи астма, які дедалі частіше виникають, можуть бути спричинені мікроорганізмами, які знаходяться в навколишньому середовищі - через брак свіжого повітря. Тож як боротися з проблемою вологи та невідповідної температури в квартирі? Дбаючи про ваш комфорт і здоров'я, ми створили вентиляційні отвори, які, відповідаючи всім стандартам безпеки, забезпечують постійний доступ свіжого повітря до квартири без істотного зниження температури в приміщенні.
.
Які вентиляційні отвори варто вибрати?
Широкий вибір різних типів вентиляційних отворів означає, що клієнти часто мають проблеми з остаточним вибором продукту. Враховуючи такі критерії
